|
На данной странице представлена ознакомительная часть выбранного Вами патента
Для получения более подробной информации о патенте (полное описание, формула изобретения и т.д.) Вам необходимо сделать заказ. Нажмите на «Корзину»
| СПОСОБ ПОДГОТОВКИ ПАРАФИНИСТЫХ НЕФТЕЙ ДЛЯ ПЕРЕКАЧКИ |  |
Номер публикации патента: 2171423 |  |
| Редакция МПК: | 7 | | Основные коды МПК: | F17D001/16 | | Аналоги изобретения: | SU 1707426 A2, 23.01.1992. SU 624063 A, 05.04.1979. SU 1763792 А1, 23.09.1992. SU 655876 A, 05.04.1979. SU 1373970 A, 15.02.1988. US 3675671 A, 01.02.1972. |
| Имя заявителя: | Институт проблем транспорта энергоресурсов (RU) | | Изобретатели: | Мамонов Фердинат Абдрахимович (KZ) Муринов Сарсембай Игалиевич (KZ) Гумеров А.Г. (RU) Карамышев В.Г. (RU) | | Патентообладатели: | Институт проблем транспорта энергоресурсов (RU) |
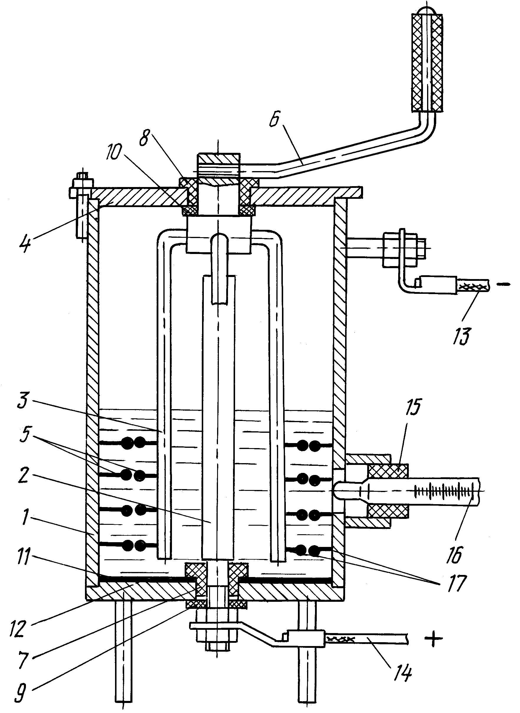
Реферат |  |
Изобретение может быть использовано для обработки парафинистых высоковязких нефтей в целях улучшения транспортабельных свойств при их перекачке. Технический результат изобретения состоит в повышении эффективности способа путем снижения энергозатрат на обработку парафинистой нефти. Это достигается тем, что в предварительно нагретую нефть вводят депрессатор и только тогда подвергают электроискровой обработке. 1 ил., 1 табл.
|