|
На данной странице представлена ознакомительная часть выбранного Вами патента
Для получения более подробной информации о патенте (полное описание, формула изобретения и т.д.) Вам необходимо сделать заказ. Нажмите на «Корзину»
| СВЧ - ВОЗБУДИТЕЛЬ БЕЗЭЛЕКТРОДНОЙ ГАЗОРАЗРЯДНОЙ ЛАМПЫ |  |
Номер публикации патента: 2161875 |  |
| Редакция МПК: | 7 | | Основные коды МПК: | H05B041/24 H01J065/04 | | Аналоги изобретения: | US 4673846 А, 16.06.1987. US 5525865 А, 11.06.1996. RU 94027317 A1, 19.07.1994. |
| Имя заявителя: | Государственное унитарное предприятие "Всероссийский электротехнический институт им. В.И. Ленина" | | Изобретатели: | Шлифер Э.Д. | | Патентообладатели: | Государственное унитарное предприятие "Всероссийский электротехнический институт им. В.И. Ленина" |
Реферат |  |
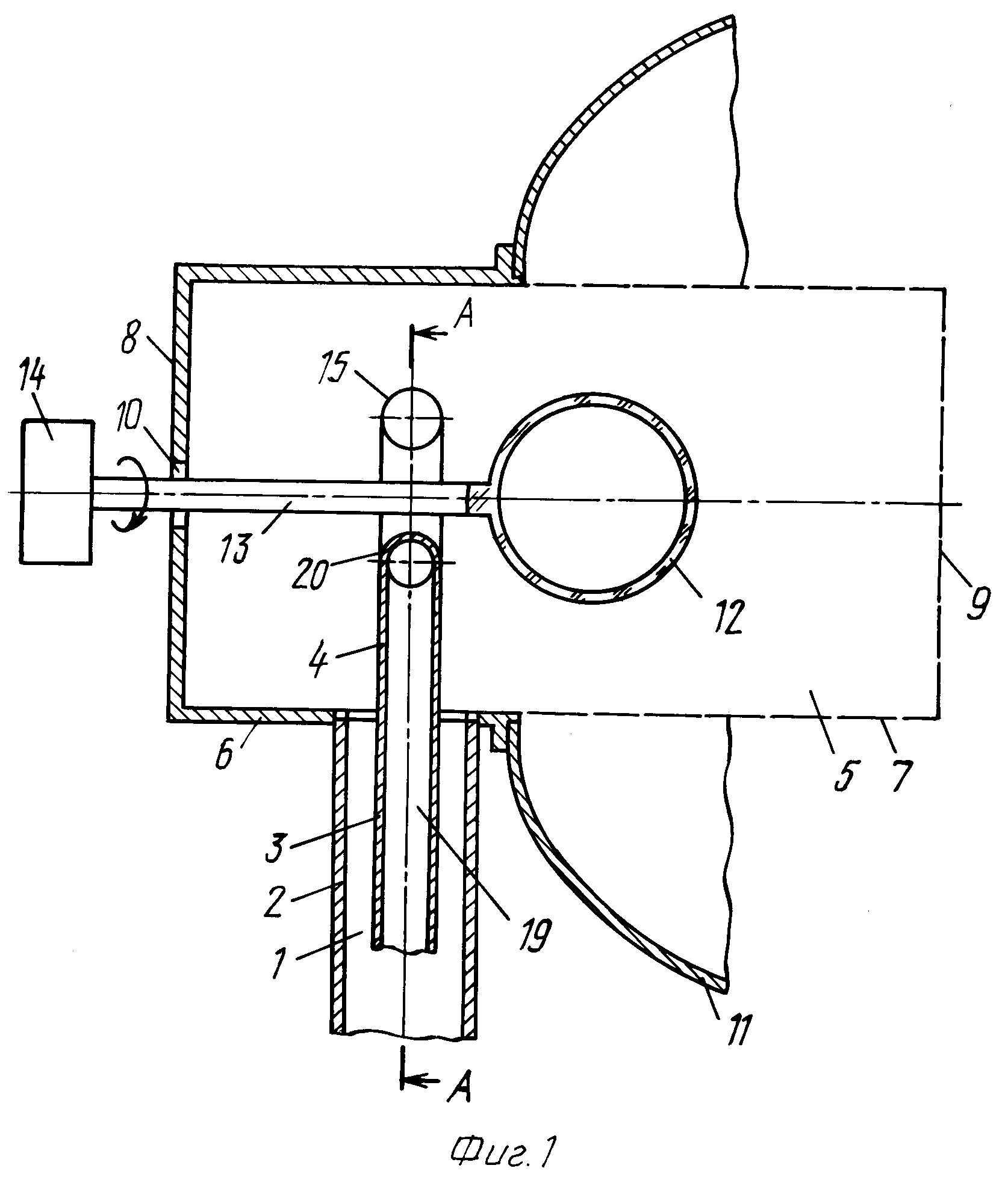
Изобретение относится к технике сверхвысоких частот (СВЧ) и светотехники, в частности к устройствам оптического излучения. Сущность изобретения состоит в том, что в СВЧ-возбудителе безэлектродной газоразрядной лампы, содержащем светопрозрачный СВЧ-резонатор с рабочим видом колебаний Н11р, безэлектродную лампу, размещенную на продольной оси СВЧ-резонатора, и входную коаксиальную линию передачи с СВЧ-излучателем в виде выступающего в СВЧ-резонатор консольного участка ее центрального проводника, консольный участок центрального проводника снабжен разветвителем СВЧ-тока, при этом оси ветвей разветвителя и центрального проводника расположены в одной плоскости, перпендикулярной продольной оси СВЧ-резонатора. Данная конструкция обеспечивает повышение однородности распределения температуры по поверхности лампы, а также повышенную световую отдачу, надежность и долговечность светильника, что является техническим результатом изобретения. Дополнительно для обеспечения принудительного охлаждения лампы центральный проводник коаксиальной линии, его консольный участок и, по крайней мере, часть разветвителя СВЧ-тока выполнены полыми, а стенка полой части разветвителя, обращенная к безэлектродной лампе, снабжена по меньшей мере одним отверстием. 1 з.п.ф-лы, 4 ил.
|