Промышленная Сибирь Ярмарка Сибири Промышленность СФО Электронные торги НОУ-ХАУ Электронные магазины Карта сайта
 
 

Поиск патентов

Как искать?
Реферат
Название
Публикация
Регистрационный номер
Имя заявителя
Имя изобретателя
Имя патентообладателя

    





Оформить заказ и задать интересующие Вас вопросы Вы можете напрямую c 6-00 до 14-30 по московскому времени кроме сб, вс. whatsapp 8-950-950-9888

На данной странице представлена ознакомительная часть выбранного Вами патента

Для получения более подробной информации о патенте (полное описание, формула изобретения и т.д.) Вам необходимо сделать заказ. Нажмите на «Корзину»


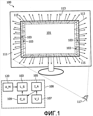
СИСТЕМА ВНЕШНЕЙ ПОДСВЕТКИ ДЛЯ УСТРОЙСТВА ОТОБРАЖЕНИЯ

Номер публикации патента: 2444153

Вид документа: C2 
Страна публикации: RU 
Рег. номер заявки: 2009125907/07 
  Сделать заказПолучить полное описание патента

Редакция МПК: 
Основные коды МПК: H04N009/73   H05B037/02    
Аналоги изобретения: WO 2006003624 A1, 2006.01.12. SU 1141591 A1, 1985.02.23. WO 2006059263 A1, 2006.01.12. US 2006227302 A1, 2006.10.12. WO 2005062608 A2, 2005.07.07. SU 173453 A1, 1965.01.01. 

Имя заявителя: КОНИНКЛЕЙКЕ ФИЛИПС ЭЛЕКТРОНИКС Н.В. (NL) 
Изобретатели: КРЕЙН Марселлинус П. К. М. (NL)
САЛТЕРС Барт А. (NL)
ХОГЕНСТРАТЕН Виллем Ф. Й. (NL) 
Патентообладатели: КОНИНКЛЕЙКЕ ФИЛИПС ЭЛЕКТРОНИКС Н.В. (NL) 
Приоритетные данные: 07.12.2006 EP 06125637.6 

Реферат


Изобретение относится к системе внешней подсветки для устройства отображения, включающего в себя область отображения изображений. Техническим результатом является, по меньшей мере, частичное расширение области отображения изображений. Для этого предусмотрены управляемые источники света, которые являются по существу точечными и расположены в массиве, каждый является приспособленным для испускания пучка света по меньшей мере одной длины волны на область, визуально показывающуюся зрителю, окружающую дисплей по периферии. Анализатор изображения определяет цветовую информацию из видеоданных отображаемого изображения, цветовая информация используется в качестве параметра управления для управления цветом излучения испускаемых пучков света. 2 н. и 13 з.п. ф-лы, 20 ил.

Дирекция сайта "Промышленная Сибирь"
Россия, г.Омск, ул.Учебная, 199-Б, к.408А
Сайт открыт 01.11.2000
© 2000-2018 Промышленная Сибирь
Разработка дизайна сайта:
Дизайн-студия "RayStudio"