Промышленная Сибирь Ярмарка Сибири Промышленность СФО Электронные торги НОУ-ХАУ Электронные магазины Карта сайта
 
 

Поиск патентов

Как искать?
Реферат
Название
Публикация
Регистрационный номер
Имя заявителя
Имя изобретателя
Имя патентообладателя

    





Оформить заказ и задать интересующие Вас вопросы Вы можете напрямую c 6-00 до 14-30 по московскому времени кроме сб, вс. whatsapp 8-950-950-9888

На данной странице представлена ознакомительная часть выбранного Вами патента

Для получения более подробной информации о патенте (полное описание, формула изобретения и т.д.) Вам необходимо сделать заказ. Нажмите на «Корзину»


СПОСОБ И УСТРОЙСТВО ИНДУКЦИОННОГО НАГРЕВА ЖИДКОСТЕЙ (ВАРИАНТЫ)

Номер публикации патента: 2444864

Вид документа: C2 
Страна публикации: RU 
Рег. номер заявки: 2010108967/07 
  Сделать заказПолучить полное описание патента

Редакция МПК: 
Основные коды МПК: H05B006/06    
Аналоги изобретения: RU 2231905 С2, 27.06.2009. RU 2380862 С1, 27.01.2010. SU 1092758 А1, 15.05.1984. BY 4546 С1, 30.06.2002. ЕР 2020826 А1, 04.02.2009. 

Имя заявителя: Российская академия сельскохозяйственных наук Государственное научное учреждение Всероссийский научно-исследовательский институт электрификации сельского хозяйства Российской академии сельскохозяйственных наук (ГНУ ВИЭСХ Россельхозакадемии) (RU) 
Изобретатели: Стребков Дмитрий Семенович (RU)
Некрасов Алексей Иосифович (RU)
Уфимцев Сергей Алексеевич (RU)
Некрасов Антон Алексеевич (RU) 
Патентообладатели: Российская академия сельскохозяйственных наук Государственное научное учреждение Всероссийский научно-исследовательский институт электрификации сельского хозяйства Российской академии сельскохозяйственных наук (ГНУ ВИЭСХ Россельхозакадемии) (RU) 

Реферат


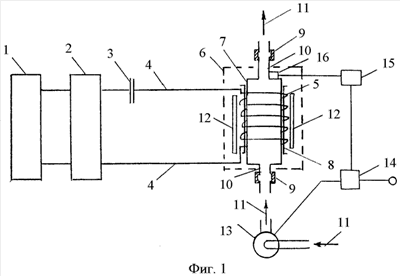
Изобретение относится к способам и устройствам индукционного нагрева текучих сред и может быть использовано для нагрева жидкостей, в том числе воды, в стальных изделиях типа резервуаров, емкостей, трубопроводов, радиаторов, посуды через металлические стенки. Задачей предлагаемого изобретения является создание способа и устройства индукционного нагрева жидкостей, обеспечивающего снижение потерь энергии при нагреве жидкостей, снижение потерь в подводящих проводах, повышение КПД и эффективности нагрева жидкостей. Технический результат достигается тем, что в предлагаемом способе и реализующем его устройстве для нагрева емкости с жидкостью создают резонансный автоколебательный режим электромагнитного поля повышенной частоты f0=1-100 кГц в индукторной обмотке нагревателя и воздействуют полученным электромагнитным полем на материал нагреваемой емкости и жидкости в области частот максимальных потерь в материале емкости, при этом измеряют температуру нагреваемой жидкости на выходе из емкости, сравнивают с заданной величиной и в соответствии с этим поддерживают температуру нагреваемой жидкости в заданных параметрах. В другом варианте способа и устройства передачу электромагнитной энергии от преобразователя к индукторной обмотке осуществляют при помощи высокочастотного резонансного трансформатора по однопроводной волноводной линии. 4 н. и 1 з.п. ф-лы, 2 ил.

Дирекция сайта "Промышленная Сибирь"
Россия, г.Омск, ул.Учебная, 199-Б, к.408А
Сайт открыт 01.11.2000
© 2000-2018 Промышленная Сибирь
Разработка дизайна сайта:
Дизайн-студия "RayStudio"