|
На данной странице представлена ознакомительная часть выбранного Вами патента
Для получения более подробной информации о патенте (полное описание, формула изобретения и т.д.) Вам необходимо сделать заказ. Нажмите на «Корзину»
| УСТАНОВКА ИНДУКЦИОННОГО НАГРЕВА СТАНИНЫ ЭЛЕКТРИЧЕСКОЙ МАШИНЫ И ИНДУКТОР УСТАНОВКИ ИНДУКЦИОННОГО НАГРЕВА СТАНИНЫ ЭЛЕКТРИЧЕСКОЙ МАШИНЫ |  |
Номер публикации патента: 2171551 |  |
| Редакция МПК: | 7 | | Основные коды МПК: | H05B006/02 H05B006/10 | | Аналоги изобретения: | SU 1432806 A1, 23.10.1988. SU 1781846 A1, 15.12.1996. RU 2030127 C1, 27.02.1995. DE 4207607 C1, 23.09.1993. DE 3635961 A1, 30.04.1987. DE 3717742 A1, 08.12.1988. EP 0873045 A1, 21.10.1998. RU 94044245 A1, 20.10.1996. RU 2055913 C1, 10.03.1996. DE 2340722 B2, 27.01.1977. |
| Имя заявителя: | Сейфулов Рашид Ваисович | | Патентообладатели: | ООО "КД-Электро" |
Реферат |  |
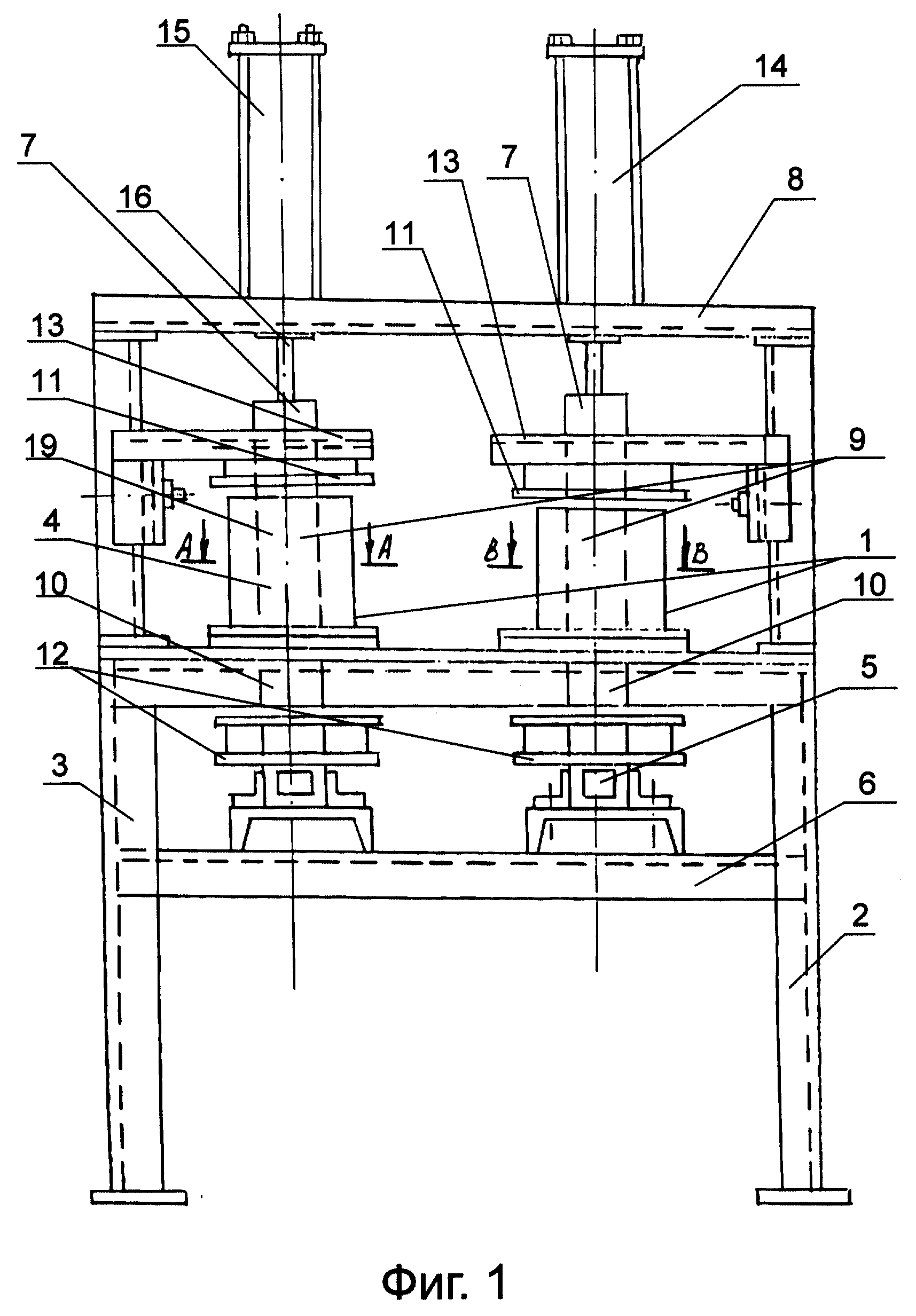
Изобретение относится к области электротехники и может быть использовано при изготовлении электрических машин, преимущественно асинхронных двигателей. Технический результат, достигаемый изобретением, состоит в повышении равномерности нагрева станины и исключении ее деформации при нагреве при одновременном снижении энергоемкости и повышении производительности труда. Указанный технический результат достигается путем того, что установка индукционного нагрева станины электрической машины, включающая раму, укрепленный на раме двухъярусный стол, разъемный индуктор, состоящий из нижней неподвижной └┘- образной части магнитопровода, укрепленной на нижнем ярусе стола, и соосной ей верхней подвижной ┌┐_ образной части магнитопровода, установленной на верхней части рамы с возможностью вертикального перемещения, и катушек индуктивности, размещенных, по крайней мере, на одной из ветвей верхней подвижной П-образной и нижней неподвижной └┘- образной частей магнитопровода, при этом верхняя катушка жестко закреплена на кронштейне, установленном на раме, а нижняя жестко закреплена на ветви нижней неподвижной части магнитопровода, причем длина каждой ветви верхней подвижной ┌┐_ образной части магнитопровода индуктора больше длины соосной ей ветви нижней неподвижной └┘- образной части магнитопровода индуктора не менее чем на 0,7 высоты станины и не более чем на высоту станины, при этом установка снабжена приводом возвратных вертикальных перемещений верхней подвижной ┌┐_ образной части магнитопровода индуктора, системой автоматического регулирования температуры и времени нагрева и системой сигнализации. 2 с. и 6 з.п. ф-лы, 4 ил.
|