Промышленная Сибирь Ярмарка Сибири Промышленность СФО Электронные торги НОУ-ХАУ Электронные магазины Карта сайта
 
 

Поиск патентов

Как искать?
Реферат
Название
Публикация
Регистрационный номер
Имя заявителя
Имя изобретателя
Имя патентообладателя

    





Оформить заказ и задать интересующие Вас вопросы Вы можете напрямую c 6-00 до 14-30 по московскому времени кроме сб, вс. whatsapp 8-950-950-9888

На данной странице представлена ознакомительная часть выбранного Вами патента

Для получения более подробной информации о патенте (полное описание, формула изобретения и т.д.) Вам необходимо сделать заказ. Нажмите на «Корзину»


СВЕТОДИОДНОЕ ОСВЕТИТЕЛЬНОЕ УСТРОЙСТВО

Номер публикации патента: 2415518

Вид документа: C2 
Страна публикации: RU 
Рег. номер заявки: 2008120669/07 
  Сделать заказПолучить полное описание патента

Редакция МПК: 
Основные коды МПК: H05B033/08    
Аналоги изобретения: US 2002/0097000 A1, 25.07.2002. US 6411046 B1, 25.06.2002. RU 2256305 C2, 10.07.2005. 

Имя заявителя: КОНИНКЛЕЙКЕ ФИЛИПС ЭЛЕКТРОНИКС Н.В. (NL) 
Изобретатели: ДЕРЕНБЕРГ Петер Х.Ф (NL) 
Патентообладатели: КОНИНКЛЕЙКЕ ФИЛИПС ЭЛЕКТРОНИКС Н.В. (NL) 
Приоритетные данные: 26.10.2005 EP 05109999.2 

Реферат


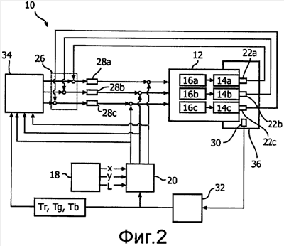
Изобретение относится к светодиодному осветительному устройству (10), содержащему множество светодиодных источников света (14) различных цветов для получения света смешанного цвета и устройство (28) для управления светодиодными источниками света в соответствии с разностями между заданными значениями, характеризующими свет смешанного цвета, имеющий требуемый цвет, и первыми управляющими данными, характеризующими цвет света смешанного цвета, создаваемый с помощью светодиодных источников света, при этом первые управляющие данные обеспечиваются с помощью, по меньшей мере, одного цветового датчика (22). Осветительное устройство отличается устройством (30, 32) для определения температуры каждого светодиодного источника света и устройством (26) для компенсации заданных значений в соответствии со вторыми управляющими данными, включающими температуры светодиодных источников света. Это обеспечивает технический результат - повышенную стабильность цвета осветительного устройства. Настоящее изобретение также относится к способу и устройству управления светодиодным осветительным устройством. 3 н. и 17 з.п. ф-лы, 2 ил., 1 табл.

Дирекция сайта "Промышленная Сибирь"
Россия, г.Омск, ул.Учебная, 199-Б, к.408А
Сайт открыт 01.11.2000
© 2000-2018 Промышленная Сибирь
Разработка дизайна сайта:
Дизайн-студия "RayStudio"