Промышленная Сибирь Ярмарка Сибири Промышленность СФО Электронные торги НОУ-ХАУ Электронные магазины Карта сайта
 
 

Поиск патентов

Как искать?
Реферат
Название
Публикация
Регистрационный номер
Имя заявителя
Имя изобретателя
Имя патентообладателя

    





Оформить заказ и задать интересующие Вас вопросы Вы можете напрямую c 6-00 до 14-30 по московскому времени кроме сб, вс. whatsapp 8-950-950-9888

На данной странице представлена ознакомительная часть выбранного Вами патента

Для получения более подробной информации о патенте (полное описание, формула изобретения и т.д.) Вам необходимо сделать заказ. Нажмите на «Корзину»


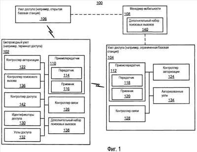
ПОИСКОВЫЙ ВЫЗОВ И ДОСТУП ПОСРЕДСТВОМ РАЗЛИЧНЫХ УЗЛОВ

Номер публикации патента: 2474085

Вид документа: C2 
Страна публикации: RU 
Рег. номер заявки: 2010136316/07 
  Сделать заказПолучить полное описание патента

Редакция МПК: 
Основные коды МПК: H04W068/12    
Аналоги изобретения: WO 2004091246 A1, 21.10.2004. RU 2005130160 A, 10.06.2006. EP 1475986 A2, 10.11.2004. US 2002090975 A1, 11.07.2002. 

Имя заявителя: КВЭЛКОММ ИНКОРПОРЕЙТЕД (US) 
Изобретатели: ХОРН Гэйвин Б. (US)
АГРАВАЛ Авниш (US)
САМПАТХ Ашвин (US)
ГОРОХОВ Алексей (US)
БХУШАН Нага (US)
ГУПТА Раджарши (US)
УЛУПИНАР Фатих (US)
АГАШЕ Параг А. (US)
ПРАКАШ Раджат (US)
КХАНДЕКАР Аамод (US)
ПАЛАНКИ Рави (US) 
Патентообладатели: КВЭЛКОММ ИНКОРПОРЕЙТЕД (US) 
Приоритетные данные: 31.01.2008 US 61/025,186
01.02.2008 US 61/025,680
26.08.2008 US 12/198,833 

Реферат


Изобретение относится к беспроводной связи. Техническим результатом является улучшение рабочих характеристик связи. Доступ только к сигнализации устанавливается на узле (104) доступа, при определении, что узел (102) не авторизован на доступ к данным на узле (102) доступа. Может выполняться поисковый вызов узла (104), который не авторизован на доступ к данным на узле (104) доступа, узлом (104) доступа посредством использования доступа только к сигнализации. Таким образом, передачи узлом (104) доступа не препятствуют приему поисковых вызовов на узле (102). Первый узел выбирается для предоставления выполнения поискового вызова, тогда как второй узел выбирается для доступа при определении, что второй узел предоставляет более желаемое обслуживание, чем первый узел. 4 н. и 68 з.п. ф-лы, 11 ил.

Дирекция сайта "Промышленная Сибирь"
Россия, г.Омск, ул.Учебная, 199-Б, к.408А
Сайт открыт 01.11.2000
© 2000-2018 Промышленная Сибирь
Разработка дизайна сайта:
Дизайн-студия "RayStudio"