Промышленная Сибирь Ярмарка Сибири Промышленность СФО Электронные торги НОУ-ХАУ Электронные магазины Карта сайта
 
 

Поиск патентов

Как искать?
Реферат
Название
Публикация
Регистрационный номер
Имя заявителя
Имя изобретателя
Имя патентообладателя

    





Оформить заказ и задать интересующие Вас вопросы Вы можете напрямую c 6-00 до 14-30 по московскому времени кроме сб, вс. whatsapp 8-950-950-9888

На данной странице представлена ознакомительная часть выбранного Вами патента

Для получения более подробной информации о патенте (полное описание, формула изобретения и т.д.) Вам необходимо сделать заказ. Нажмите на «Корзину»


УПРАВЛЕНИЕ МОЩНОСТЬЮ ПОД РУКОВОДСТВОМ ОБСЛУЖИВАЮЩЕГО СЕКТОРА

Номер публикации патента: 2407154

Вид документа: C2 
Страна публикации: RU 
Рег. номер заявки: 2008132140/09 
  Сделать заказПолучить полное описание патента

Редакция МПК: 
Основные коды МПК: H04B007/005   H04W052/04    
Аналоги изобретения: ЕР 0682418 А, 15.11.1995. US 2003/134655 A1, 17.07.2003. RU 2216106 C2, 10.11.2003. US 2004/077370 А1, 22.04.2004. 

Имя заявителя: КВЭЛКОММ ИНКОРПОРЕЙТЕД (US) 
Изобретатели: БОРРАН Мохаммад Дж. (US)
КХАНДЕКАР Аамод (US)
АГРАВАЛ Авниш (US)
ЦЗИ Тинфан (US) 
Патентообладатели: КВЭЛКОММ ИНКОРПОРЕЙТЕД (US) 
Приоритетные данные: 05.01.2006 US 60/756,960 

Реферат


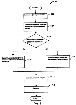
Изобретение относится к беспроводной связи. Описаны системы и методологии, которые облегчают управление мощностью передачи под руководством обслуживающего сектора в беспроводной среде связи. При определенных условиях пункт доступа может иметь более точные данные, с помощью которых можно определять подходящие уровни мощности, чем отдельный терминал. Таким образом, пункт доступа может передавать информацию управления мощностью в один или более терминалов, поддерживаемых с помощью пункта доступа, заменяющую обычные процедуры определения мощности. В частности, информация управления мощностью может быть включена в сообщение назначения, которое назначает ресурсы (например, частоту, время), назначенные в терминал. Информация управления мощностью может быть основана на отношении сигнал/шум (SNR), требованиях к качеству обслуживания, информации о помехах и любой другой релевантной информации или любой их комбинации. 10 н. и 38 з.п. ф-лы, 11 ил.

Дирекция сайта "Промышленная Сибирь"
Россия, г.Омск, ул.Учебная, 199-Б, к.408А
Сайт открыт 01.11.2000
© 2000-2018 Промышленная Сибирь
Разработка дизайна сайта:
Дизайн-студия "RayStudio"