Промышленная Сибирь Ярмарка Сибири Промышленность СФО Электронные торги НОУ-ХАУ Электронные магазины Карта сайта
 
 

Поиск патентов

Как искать?
Реферат
Название
Публикация
Регистрационный номер
Имя заявителя
Имя изобретателя
Имя патентообладателя

    





Оформить заказ и задать интересующие Вас вопросы Вы можете напрямую c 6-00 до 14-30 по московскому времени кроме сб, вс. whatsapp 8-950-950-9888

На данной странице представлена ознакомительная часть выбранного Вами патента

Для получения более подробной информации о патенте (полное описание, формула изобретения и т.д.) Вам необходимо сделать заказ. Нажмите на «Корзину»


СПОСОБ УПРАВЛЕНИЯ РАДИОСВЯЗЬЮ НА ПРОТЯЖЕНИИ ПЕРИОДОВ НЕЗАНЯТОСТИ БЕСПРОВОДНОЙ СИСТЕМЫ

Номер публикации патента: 2454036

Вид документа: C2 
Страна публикации: RU 
Рег. номер заявки: 2008147211/08 
  Сделать заказПолучить полное описание патента

Редакция МПК: 
Основные коды МПК: H04W028/16   H04L027/26    
Аналоги изобретения: US 2003/0223396 А1, 04.12.2003. US 2001/0024431 A1, 27.09.2001. US 2005/0118981 A1, 02.06.2005. WO 03/010984 A1, 06.02.2003. RU 2197781 C2, 27.01.2003. 

Имя заявителя: ЛУСЕНТ ТЕКНОЛОДЖИЗ ИНК. (US) 
Изобретатели: БАХЛЬ Райнер Вальтер (DE)
ЧЭН Фанчэнь (US)
СОН Лей (US) 
Патентообладатели: ЛУСЕНТ ТЕКНОЛОДЖИЗ ИНК. (US) 
Приоритетные данные: 01.05.2006 US 11/415,945 

Реферат


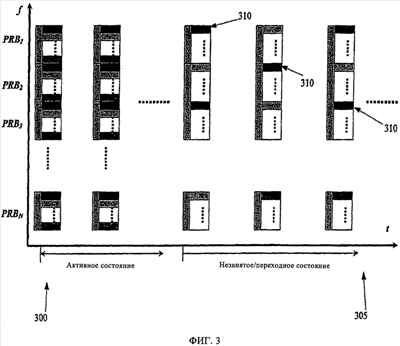
Изобретение относится к беспроводной связи. Техническим результатом является уменьшение потерь в результате перекрытия восходящего физического канала связи на протяжении состояния незанятости. Он достигается тем, что предложен способ управления радиоресурсами в системе беспроводной связи, поддерживающей множество расширяемых полос пропускания, каждая из которых отцентрирована на выбранной центральной частоте и поддерживает различное количество когерентных полос пропускания, каждая из которых временно разделена на блоки ресурсов, при этом настраивают дополнительный терминал на выбранной центральной частоте из упомянутого множества расширяемых полос пропускания, передают от терминала доступа на одной из расширяемых полос пропускания по меньшей мере один опорный сигнал с первой скоростью на протяжении активного состояния, так что этот по меньшей мере один опорный сигнал передается в части каждого блока ресурсов каждой из когерентных полос пропускания, и передают от терминала доступа на упомянутой одной из расширяемых полос пропускания по меньшей мере один опорный сигнал со второй скоростью на протяжении периода незанятости, так что этот по меньшей мере один опорный сигнал передается в части одного блока ресурсов одной из когерентных полос пропускания во временном интервале и не передается в другом блоке ресурсов оставшихся когерентных полос пропускания в течение этого временного интервала, причем упомянутая одна из когерентных полос пропускания, используемая для передачи упомянутого по меньшей мере одного опорного сигнала, изменяется в последовательные интервалы времени. 9 з.п. ф-лы, 4 ил.

Дирекция сайта "Промышленная Сибирь"
Россия, г.Омск, ул.Учебная, 199-Б, к.408А
Сайт открыт 01.11.2000
© 2000-2018 Промышленная Сибирь
Разработка дизайна сайта:
Дизайн-студия "RayStudio"