СООБЩЕНИЕ ОБ ИНИЦИАЛИЗАЦИИ ОПРЕДЕЛЕНИЯ МЕСТОПОЛОЖЕНИЯ ЗАЩИЩЕННОЙ ПОЛЬЗОВАТЕЛЬСКОЙ ПЛОСКОСТИ "SUPL" В СИСТЕМЕ ИНФОРМАЦИИ О МЕСТОПОЛОЖЕНИИ И СИСТЕМА И СПОСОБ ДЛЯ ОБРАБОТКИ ОПРЕДЕЛЕНИЯ МЕСТОПОЛОЖЕНИЯ ЗАЩИЩЕННОЙ ПОЛЬЗОВАТЕЛЬСКОЙ ПЛОСКОСТИ С ЕГО ИСПОЛЬЗОВАНИЕМ
US 2005020276 A1, 2005.01.27. WO 2004071127 A1, 2004.12.16. RU 2192098 С2, 27.10.2002. RU 2004102512 A, 2005.03.27. Secure User Plane Location Service Stage 2 Specification. Draft Version 1.0, ОМА LOC SUPL, 19 December 2003, Open Mobile Alliance OMA-LOC-SUPL-Spec-Stage-2-V1_0-20031219-D найдено в Интернете на URL:http://member.openmobilealliance.org/ftp/Public_documents/LOC/2003. WUK KIM et al, SUPL_AD_SET_Initiated_Roaming (Reduced Flows), OMA-LOC-SUPL-AD-V1_0-20040507-D, 2004 Open Mobile Alliance Ltd, 17 May 2004. S.KRAUFVELIN, Unified Roaming Model, ОМА LOC WG INPUT CONTRIBUTION, 12 August 2004, найдено в Интернете на URL: http://member.openmobilealliance.org/ftp/Public_documents/LOC/2004/>. IP-Based Location Services, 3GPP2-DRAFTS, 2500 WILSON BOULEVARD, SUITE 300, ARLINGTON, VIRGINIA 22201 USA, 10 January 2005. Open Mobile Alliance, Secure User Plane Location Architecture Open Mobile Alliance, 10 March 2005.
Имя заявителя:
Эл Джи Электроникс Инк. (KR)
Изобретатели:
СИМ Дон-Хи (KR) ЧХО Ен-Сон (KR)
Патентообладатели:
Эл Джи Электроникс Инк. (KR)
Приоритетные данные:
01.04.2005 KR 10-2005-0027772
Реферат
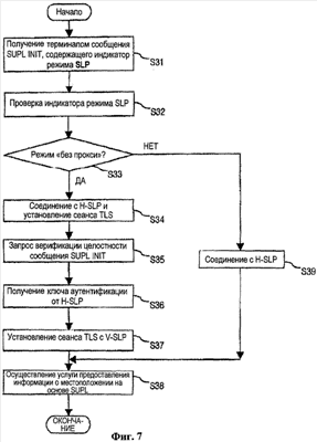
Изобретение относится к системе предоставления информации о местоположении на основе технологии определения местоположения защищенной пользовательской плоскости (SUPL). Техническим результатом является создание способа и системы для обработки процедуры SUPL с использованием сообщения об инициации SUPL в системе предоставления информации о местоположении, которые способны дать возможность терминалу, пользующемуся роумингом, точно определить конкретный сервер, к которому терминал должен подключиться для пользования услугой определения местоположения на основе SUPL в режиме с использованием посредника «прокси» и режиме без использования посредника «без прокси». Указанный технический результат достигается тем, что предложен терминал связи, который содержит процессор, чтобы обрабатывать индикатор режима платформы определения местоположения на основе (SUPL SLP), полученный в сообщении об инициации SUPL, указывающий, должен ли терминал работать в соответствии с режимом с посредником - «прокси», или в режиме без посредника - «без прокси». 5 н. и 7 з.п. ф-лы, 13 ил.