Промышленная Сибирь Ярмарка Сибири Промышленность СФО Электронные торги НОУ-ХАУ Электронные магазины Карта сайта
 
 

Поиск патентов

Как искать?
Реферат
Название
Публикация
Регистрационный номер
Имя заявителя
Имя изобретателя
Имя патентообладателя

    





Оформить заказ и задать интересующие Вас вопросы Вы можете напрямую c 6-00 до 14-30 по московскому времени кроме сб, вс. whatsapp 8-950-950-9888

На данной странице представлена ознакомительная часть выбранного Вами патента

Для получения более подробной информации о патенте (полное описание, формула изобретения и т.д.) Вам необходимо сделать заказ. Нажмите на «Корзину»


СПОСОБ И СИСТЕМА ДЛЯ ПРЕОБРАЗОВАНИЯ ДВУХМЕРНОГО ВИДЕО В ТРЕХМЕРНОЕ ВИДЕО

Номер публикации патента: 2454025

Вид документа: C2 
Страна публикации: RU 
Рег. номер заявки: 2009127757/07 
  Сделать заказПолучить полное описание патента

Редакция МПК: 
Основные коды МПК: H04N013/02   G06T017/00    
Аналоги изобретения: ЕР 1128679 A1, 29.08.2001. US 2004032488 A1, 19.02.2004. WO 03049038 A1, 12.06.2003. ЕР 1150254 A2, 31.10.2001. EP 1551190 A1, 06.07.2005. EP 1501317 A1, 26.01.2005. US 6091421 A, 18.07.2000. RU 2237284 C2, 27.09.2004. RU 2159017 C2, 11.10.2000. 

Имя заявителя: КОНИНКЛЕЙКЕ ФИЛИПС ЭЛЕКТРОНИКС Н.В. (NL) 
Изобретатели: БУРАЗЕРОВИЧ Джевдет (NL) 
Патентообладатели: КОНИНКЛЕЙКЕ ФИЛИПС ЭЛЕКТРОНИКС Н.В. (NL) 
Приоритетные данные: 19.12.2006 EP 06126515.3 

Реферат


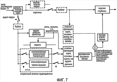
Изобретение относится к способу для обеспечения оценки пространственной глубины видеопоследовательности и, в частности, к способу преобразования двухмерного (2D) видеоформата в трехмерный (3D). Техническим результатом является снижение вычислительной нагрузки и, тем самым, обеспечение возможности более эффективной оценки глубины изображений. Указанный технический результат достигается тем, что предложено преобразование 2D видеоформата в 3D с использованием способа обеспечения оценки пространственной глубины для видеопоследовательности, причем способ содержит классификацию аудиосцены, в которой показатель категоризации пространственной глубины некоторой сцены получается на основе анализа аудиоинформации для упомянутой сцены, в котором показатель категоризации пространственной глубины используется в последующей оценке пространственной глубины, основываясь на видеоинформации для такой же сцены. 3 н. и 10 з.п. ф-лы, 10 ил.

Дирекция сайта "Промышленная Сибирь"
Россия, г.Омск, ул.Учебная, 199-Б, к.408А
Сайт открыт 01.11.2000
© 2000-2018 Промышленная Сибирь
Разработка дизайна сайта:
Дизайн-студия "RayStudio"