Промышленная Сибирь Ярмарка Сибири Промышленность СФО Электронные торги НОУ-ХАУ Электронные магазины Карта сайта
 
 

Поиск патентов

Как искать?
Реферат
Название
Публикация
Регистрационный номер
Имя заявителя
Имя изобретателя
Имя патентообладателя

    





Оформить заказ и задать интересующие Вас вопросы Вы можете напрямую c 6-00 до 14-30 по московскому времени кроме сб, вс. whatsapp 8-950-950-9888

На данной странице представлена ознакомительная часть выбранного Вами патента

Для получения более подробной информации о патенте (полное описание, формула изобретения и т.д.) Вам необходимо сделать заказ. Нажмите на «Корзину»


СПОСОБ И УСТРОЙСТВО ДЛЯ ШИФРОВАНИЯ/ДЕШИФРОВАНИЯ КОНТЕНТА МУЛЬТИМЕДИА ДЛЯ ОБЕСПЕЧЕНИЯ ВОЗМОЖНОСТИ ПРОИЗВОЛЬНОГО ДОСТУПА

Номер публикации патента: 2394389

Вид документа: C2 
Страна публикации: RU 
Рег. номер заявки: 2008105548/09 
  Сделать заказПолучить полное описание патента

Редакция МПК: 
Основные коды МПК: H04N005/917   H04N007/24   G11B020/10    
Аналоги изобретения: ЕР 1379084 А1, 07.01.2004. US 2003188182 А1, 02.10.2003. WO 03107665 А1, 24.12.2003. EP1122728 А1, 08.08.2001. US 2002006165 А1, 17.01.2002. WO 2005036876 А1, 21.04.2005. RU 2003113331 A, 10.10.2004. KIM G., SHIN D., Intellectual Property Management on MPEG-4 Video for Hand-Held Device and Mobile Video Streaming Service, IEEE Transactions on Consumer Electronics, vol.51, issue 1, February 2005. 

Имя заявителя: КВЭЛКОММ ИНКОРПОРЕЙТЕД (US) 
Изобретатели: УИНГЕРТ Кристофер Р. (US)
АГГАРВАЛ Пуджа (US) 
Патентообладатели: КВЭЛКОММ ИНКОРПОРЕЙТЕД (US) 
Приоритетные данные: 14.07.2005 US 11/182,088 

Реферат


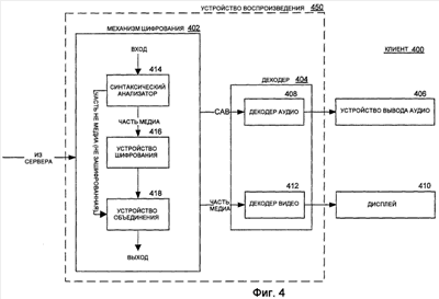
Изобретение относится к шифрованию и дешифрованию файлов мультимедиа. Техническим результатом является создание способа и устройства, предназначенных для шифрования только данных видео транспортного потока кодека и оставления нетронутым метаконтента. Таким образом, любая ошибка, байтовое расширение или сжатие данных будут минимизированы таким образом, чтобы затрагивать небольшую часть воспроизведения мультимедиа. Предложен способ шифрования файла мультимедиа, включающий в себя этапы, на которых выполняют синтаксический анализ файла мультимедиа, чтобы идентифицировать часть данных медиа, шифруют часть данных медиа и объединяют зашифрованную часть данных медиа с незашифрованной частью данных не медиа. Также раскрыт способ для воспроизведения файла мультимедиа, включающий в себя этапы, на которых выполняют синтаксический анализ файла мультимедиа, чтобы идентифицировать незашифрованную часть метаданных, используют незашифрованную часть метаданных, чтобы определить местонахождение позиции, представляющей интерес, в файле медиа, причем позиция, представляющая интерес, имеет связанную зашифрованную часть данных медиа, и дешифруют связанную зашифрованную часть данных медиа. Также в настоящей заявке раскрыто устройство для выполнения упомянутых способов. 8 н. и 7 з.п. ф-лы, 6 ил.

Дирекция сайта "Промышленная Сибирь"
Россия, г.Омск, ул.Учебная, 199-Б, к.408А
Сайт открыт 01.11.2000
© 2000-2018 Промышленная Сибирь
Разработка дизайна сайта:
Дизайн-студия "RayStudio"