Промышленная Сибирь Ярмарка Сибири Промышленность СФО Электронные торги НОУ-ХАУ Электронные магазины Карта сайта
 
 

Поиск патентов

Как искать?
Реферат
Название
Публикация
Регистрационный номер
Имя заявителя
Имя изобретателя
Имя патентообладателя

    





Оформить заказ и задать интересующие Вас вопросы Вы можете напрямую c 6-00 до 14-30 по московскому времени кроме сб, вс. whatsapp 8-950-950-9888

На данной странице представлена ознакомительная часть выбранного Вами патента

Для получения более подробной информации о патенте (полное описание, формула изобретения и т.д.) Вам необходимо сделать заказ. Нажмите на «Корзину»


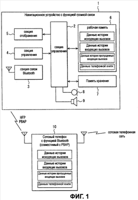
АВТОМОБИЛЬНОЕ УСТРОЙСТВО ГРОМКОЙ СВЯЗИ И СПОСОБ ПЕРЕДАЧИ ДАННЫХ

Номер публикации патента: 2443066

Вид документа: C2 
Страна публикации: RU 
Рег. номер заявки: 2009126146/07 
  Сделать заказПолучить полное описание патента

Редакция МПК: 
Основные коды МПК: H04M001/2745    
Аналоги изобретения: US 2005070336 A1, 31.03.2005. KR 20040074808 A, 26.08.2004. US 2003114202 A1, 19.06.2003. RU 49661 U1, 27.11.2005. 

Имя заявителя: ДЕНСО КОРПОРЕЙШН (JP) 
Изобретатели: ОЗАКИ Такахиса (JP) 
Патентообладатели: ДЕНСО КОРПОРЕЙШН (JP) 
Приоритетные данные: 08.12.2006 JP 2006-331875
27.04.2007 JP 2007-118937
04.09.2007 JP 2007-229467
03.12.2007 JP 2007-312290 

Реферат


Изобретение относится к мобильной связи. Автомобильное навигационное устройство (1) с функцией громкой связи устанавливает соединение Bluetooth с сотовым телефоном (10). При получении от сотового телефона (10) данных истории исходящих вызовов и данных истории входящих вызовов, которые были сохранены в сотовом телефоне (10) перед установлением соединения Bluetooth, автомобильное навигационное устройство (1) сохраняет в рабочей памяти (6) принятые данные истории исходящих вызовов и принятые данные истории входящих вызовов одинаково с данными истории исходящих вызовов и данными истории входящих вызовов самого автомобильного навигационного устройства (1). Технический результат заключается в обеспечении совместимости между автомобильным устройством громкой связи и любым типом сотового телефона. 5 н.п. и 10 з.п. ф-лы, 31 ил.

Дирекция сайта "Промышленная Сибирь"
Россия, г.Омск, ул.Учебная, 199-Б, к.408А
Сайт открыт 01.11.2000
© 2000-2018 Промышленная Сибирь
Разработка дизайна сайта:
Дизайн-студия "RayStudio"