Промышленная Сибирь Ярмарка Сибири Промышленность СФО Электронные торги НОУ-ХАУ Электронные магазины Карта сайта
 
 

Поиск патентов

Как искать?
Реферат
Название
Публикация
Регистрационный номер
Имя заявителя
Имя изобретателя
Имя патентообладателя

    





Оформить заказ и задать интересующие Вас вопросы Вы можете напрямую c 6-00 до 14-30 по московскому времени кроме сб, вс. whatsapp 8-950-950-9888

На данной странице представлена ознакомительная часть выбранного Вами патента

Для получения более подробной информации о патенте (полное описание, формула изобретения и т.д.) Вам необходимо сделать заказ. Нажмите на «Корзину»


КВАДРАТУРНЫЙ МОДУЛЯТОР, ИСПОЛЬЗУЮЩИЙ ЧЕТЫРЕ НЕСУЩИЕ СО СДВИГОМ ПО ФАЗЕ НА 90 ГРАДУСОВ

Номер публикации патента: 2382510

Вид документа: C2 
Страна публикации: RU 
Рег. номер заявки: 2005132157/09 
  Сделать заказПолучить полное описание патента

Редакция МПК: 
Основные коды МПК: H04L027/36    
Аналоги изобретения: US 4638504 А, 20.01.1987. RU 94044345 A1, 20.10.1996. RU 2000120619 A, 20.08.2002. WO 02/37787 A, 10.05.2002. US 6181199 B1, 30.01.2001. 

Имя заявителя: КВЭЛКОММ ИНКОРПОРЕЙТЕД (US) 
Изобретатели: БАЛЛАНТИН Гари Дж. (NZ) 
Патентообладатели: КВЭЛКОММ ИНКОРПОРЕЙТЕД (US) 
Приоритетные данные: 18.03.2003 US 10/392,042 

Реферат


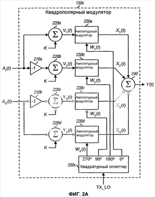
Изобретение относится к системе связи. Технический результат: получение оптимальных шумовых характеристик и выходной мощности. Квадрополярный модулятор включает в себя четыре амплитудных модулятора и блок объединения. Каждый амплитудный модулятор модулирует соответствующий сигнал несущей частоты соответствующим входным сигналом для обеспечения соответствующего выходного сигнала. Затем блок объединения объединяет четыре выходных сигнала от четырех амплитудных модуляторов для обеспечения модулированного сигнала. Каждый амплитудный модулятор может быть реализован с коммутирующим усилителем, например усилителем класса Е с модуляцией по питанию. Два входных сигнала получают посредством отдельного суммирования синфазного (I) модулирующего сигнала и инвертированного модулирующего сигнала I со значением сдвига. Другие два входных сигнала получают посредством отдельного суммирования квадратурного (Q) модулирующего сигнала и инвертированного модулирующего сигнала Q со значением сдвига. Значение сдвига может быть выбрано на основании предполагаемой величины модулирующих сигналов. Эти четыре сигнала несущей частоты находятся в квадратуре друг к другу. 4 н. и 17 з.п. ф-лы, 6 ил.

Дирекция сайта "Промышленная Сибирь"
Россия, г.Омск, ул.Учебная, 199-Б, к.408А
Сайт открыт 01.11.2000
© 2000-2018 Промышленная Сибирь
Разработка дизайна сайта:
Дизайн-студия "RayStudio"