Промышленная Сибирь Ярмарка Сибири Промышленность СФО Электронные торги НОУ-ХАУ Электронные магазины Карта сайта
 
 

Поиск патентов

Как искать?
Реферат
Название
Публикация
Регистрационный номер
Имя заявителя
Имя изобретателя
Имя патентообладателя

    





Оформить заказ и задать интересующие Вас вопросы Вы можете напрямую c 6-00 до 14-30 по московскому времени кроме сб, вс. whatsapp 8-950-950-9888

На данной странице представлена ознакомительная часть выбранного Вами патента

Для получения более подробной информации о патенте (полное описание, формула изобретения и т.д.) Вам необходимо сделать заказ. Нажмите на «Корзину»


СПОСОБ И СИСТЕМА ДЛЯ КОРРЕКЦИИ DC И AGC

Номер публикации патента: 2458457

Вид документа: C2 
Страна публикации: RU 
Рег. номер заявки: 2010144272/08 
  Сделать заказПолучить полное описание патента

Редакция МПК: 
Основные коды МПК: H03G003/00   H04L025/06    
Аналоги изобретения: WO 02/067420 А2, 29.08.2002. RU 97112204 A, 20.06.1999. RU 2241310 C2, 27.06.2003. US 2003/199264 A1, 23.10.2003. WO 2007/118101 A1, 18.10.2007. US 5754595 A, 19.05.1998. US 2004/043744 A1, 04.03.2004. 

Имя заявителя: КВЭЛКОММ ИНКОРПОРЕЙТЕД (US) 
Изобретатели: КАДОУС Тамер А. (US)
ЯО Айвен (US)
ВАН Цзибин (US)
ЦЗИН Вэйхун (US)
ЛИ Юн (US) 
Патентообладатели: КВЭЛКОММ ИНКОРПОРЕЙТЕД (US) 
Приоритетные данные: 29.03.2008 US 61/040,663
05.03.2009 US 12/398,285 

Реферат


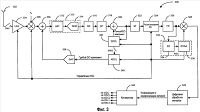
Изобретение относится в целом к системе и способу для автоматического управления усилением (AGC) и коррекцией напряжения постоянного тока (DC) во входной радиочастотной (RF) системе приемника. Технический результат заключается в обеспечении осуществления AGC и компенсации уровня DC комбинированным образом, чтобы гарантировать соответствующий уровень сигнала на входе аналогово-цифрового преобразователя (ADC), а также снижение либо устранение уровня DC после смесителя. Для этого способ обработки радиочастотного (RF) принятого сигнала содержит этапы: применение программируемого усиления к принятому RF-сигналу; формирование сигнала, связанного с оценкой энергии принятого RF-сигнала; регулирование программируемого усиления на основе сигнала оценки энергии; преобразование с понижением частоты принятого RF-сигнала; обнаружение информации системного времени в сигнале, преобразованном с понижением частоты; настройку компонента постоянного тока (DC) сигнала, преобразованного с понижением частоты, относительно точным способом; и настройку DC-компонента сигнала, преобразованного с понижением частоты, относительно грубым способом. 3 н. и 10 з.п. ф-лы, 10 ил.

Дирекция сайта "Промышленная Сибирь"
Россия, г.Омск, ул.Учебная, 199-Б, к.408А
Сайт открыт 01.11.2000
© 2000-2018 Промышленная Сибирь
Разработка дизайна сайта:
Дизайн-студия "RayStudio"