Промышленная Сибирь Ярмарка Сибири Промышленность СФО Электронные торги НОУ-ХАУ Электронные магазины Карта сайта
 
 

Поиск патентов

Как искать?
Реферат
Название
Публикация
Регистрационный номер
Имя заявителя
Имя изобретателя
Имя патентообладателя

    





Оформить заказ и задать интересующие Вас вопросы Вы можете напрямую c 6-00 до 14-30 по московскому времени кроме сб, вс. whatsapp 8-950-950-9888

На данной странице представлена ознакомительная часть выбранного Вами патента

Для получения более подробной информации о патенте (полное описание, формула изобретения и т.д.) Вам необходимо сделать заказ. Нажмите на «Корзину»


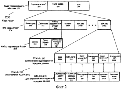
СИГНАЛИЗАЦИЯ О ГРУППОВОМ АДРЕСЕ ДЛЯ ЭНЕРГОСБЕРЕГАЮЩЕЙ ДОСТАВКИ В БЕСПРОВОДНОЙ СЕТИ

Номер публикации патента: 2411649

Вид документа: C2 
Страна публикации: RU 
Рег. номер заявки: 2008132689/09 
  Сделать заказПолучить полное описание патента

Редакция МПК: 
Основные коды МПК: H04B007/005   H04L012/18    
Аналоги изобретения: US 2005213576 A1, 29.09.2005. RU 2262811 C2, 20.10.2005. US 2004213191 A1, 28.10.2004. JP 2005039825 A, 10.02.2005. US 2005047356 A1, 03.03.2005. US 6795450 C2, 20.10.2005. LIM L.W. et al «A QoS scheduler for IEEE 802.11e WLANs», Consumer Communications and Networking Conference, 2004, CCNC 2004, First IEEE Las Vegas, NV, USA, 5-8 Jan.2004, колонка 1 на стр.200, размещен в Интернете по адресу: http://ieeexplore.ieee.org/iel5/9037/28685/01286858.pdf. 

Имя заявителя: Нокиа Корпорейшн (FI) 
Изобретатели: КЭКАНИ Навин (US) 
Патентообладатели: Нокиа Корпорейшн (FI) 
Приоритетные данные: 28.02.2006 US 60/777,619 

Реферат


Описываются различные формы осуществления изобретения, относящегося к сигнализации о групповом адресе для многоадресной энергосберегающей доставки в беспроводной сети. Технический результат заключается в улучшении поддержки для многоадресных передач данных. Для этого согласно примеру осуществления изобретения беспроводной узел может передавать управляющий кадр (201) (например, кадр PSMP), чтобы указывать время плановой передачи данных для одного или более принимающих узлов в беспроводной сети. Управляющий кадр может содержать множество полей, касающихся многоадресной передачи, например одно или более из следующих полей: первое поле (225), установленное на значение, указывающее на многоадресную передачу, второе поле (233В), идентифицирующее групповой адрес, третье поле (227), указывающее время многоадресной передачи, и четвертое поле (229), указывающее длительность многоадресной передачи. 8 н. и 13 з.п. ф-лы, 10 ил.

Дирекция сайта "Промышленная Сибирь"
Россия, г.Омск, ул.Учебная, 199-Б, к.408А
Сайт открыт 01.11.2000
© 2000-2018 Промышленная Сибирь
Разработка дизайна сайта:
Дизайн-студия "RayStudio"