Промышленная Сибирь Ярмарка Сибири Промышленность СФО Электронные торги НОУ-ХАУ Электронные магазины Карта сайта
 
 

Поиск патентов

Как искать?
Реферат
Название
Публикация
Регистрационный номер
Имя заявителя
Имя изобретателя
Имя патентообладателя

    





Оформить заказ и задать интересующие Вас вопросы Вы можете напрямую c 6-00 до 14-30 по московскому времени кроме сб, вс. whatsapp 8-950-950-9888

На данной странице представлена ознакомительная часть выбранного Вами патента

Для получения более подробной информации о патенте (полное описание, формула изобретения и т.д.) Вам необходимо сделать заказ. Нажмите на «Корзину»


РАНГОВОЕ ПРОГНОЗИРОВАНИЕ НА ОСНОВЕ ПРОПУСКНОЙ СПОСОБНОСТИ В MIMO - СХЕМЕ

Номер публикации патента: 2378767

Вид документа: C2 
Страна публикации: RU 
Рег. номер заявки: 2007128046/09 
  Сделать заказПолучить полное описание патента

Редакция МПК: 
Основные коды МПК: H04L001/06    
Аналоги изобретения: RU 2213423 С2, 27.09.2003. US 5870393 А, 09.02.1999. ЕР 0488976 А2, 03.06.1992. FR 2584884 А1, 16.01.1987. 

Имя заявителя: КВЭЛКОММ ИНКОРПОРЕЙТЕД (US) 
Изобретатели: САМПАТХ Хемантх (US)
КАДОУС Тамер (US) 
Патентообладатели: КВЭЛКОММ ИНКОРПОРЕЙТЕД (US) 
Приоритетные данные: 22.12.2004 US 11/022,347 

Реферат


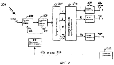
Изобретение относится к связи и может использоваться в многоканальной системе связи со многими входами и многими выходами (MIMO). Достигаемый технический результат - согласование межуровневых помех и MIMO-усиления, чтобы максимизировать спектральную эффективность. Способ рангового прогнозирования содержит этапы, на которых вычисляют матрицы MIMO-канала, соответствующие уровневым передачам для каждого тона, вычисляют отношения "сигнал-шум" (SNR) для каждого тона на основе матриц MIMO-канала, преобразуют SNR для каждого тона, чтобы сформировать фактические SNR для каждой уровневой передачи, вычисляют величины аддитивного белого гауссова шума (AWGN), соответствующие фактическим SNR, выбирают наибольшее Cap из вычисленных и прогнозируют ранг канала для следующего интервала передачи. Устройство беспроводной передачи для рангового прогнозирования содержит средства для реализации упомянутых этапов способа. 4 н. и 16 з.п. ф-лы. 5 ил.

Дирекция сайта "Промышленная Сибирь"
Россия, г.Омск, ул.Учебная, 199-Б, к.408А
Сайт открыт 01.11.2000
© 2000-2018 Промышленная Сибирь
Разработка дизайна сайта:
Дизайн-студия "RayStudio"