Промышленная Сибирь Ярмарка Сибири Промышленность СФО Электронные торги НОУ-ХАУ Электронные магазины Карта сайта
 
 

Поиск патентов

Как искать?
Реферат
Название
Публикация
Регистрационный номер
Имя заявителя
Имя изобретателя
Имя патентообладателя

    





Оформить заказ и задать интересующие Вас вопросы Вы можете напрямую c 6-00 до 14-30 по московскому времени кроме сб, вс. whatsapp 8-950-950-9888

На данной странице представлена ознакомительная часть выбранного Вами патента

Для получения более подробной информации о патенте (полное описание, формула изобретения и т.д.) Вам необходимо сделать заказ. Нажмите на «Корзину»


РАЗНЕСЕНИЕ ДИАГРАММЫ НАПРАВЛЕННОСТИ ДЛЯ ПОДДЕРЖКИ ПРИЕМНИКА СИСТЕМЫ С МНОЖЕСТВОМ ВХОДОВ И МНОЖЕСТВОМ ВЫХОДОВ (MIMO) И СООТВЕТСТВУЮЩИЕ СПОСОБЫ

Номер публикации патента: 2387079

Вид документа: C2 
Страна публикации: RU 
Рег. номер заявки: 2008115506/09 
  Сделать заказПолучить полное описание патента

Редакция МПК: 
Основные коды МПК: H04B007/04   H04L001/06    
Аналоги изобретения: US 6760388 В2, 12.06.2003. RU 2005108590 A, 27.08.2005. US 2004047426 A1, 11.03.2004. US 2003050020 A1, 13.03.2003. US 2004198450 A1, 07.10.2004. US 2003108117 A1, 12.06.2003. WIDDUP В. ЕТ AL, A highly-parallel VLSI architecture for a list sphere detector, COMMUNICATIONS, 2004 IEEE INTERNATIONAL CONFERENCE ON PARIS, FRANCE 20-24 JUNE 2004, PISCATAWAY, IEEE, vol.5, 20 June 2004. RU 2238611 C1, 20.10.2004. 

Имя заявителя: ИНТЕРДИДЖИТАЛ ТЕКНОЛОДЖИ КОРПОРЕЙШН (US) 
Изобретатели: ГОЛДБЕРГ Стивен Дж. (US) 
Патентообладатели: ИНТЕРДИДЖИТАЛ ТЕКНОЛОДЖИ КОРПОРЕЙШН (US) 
Приоритетные данные: 22.09.2005 US 11/233,329
05.01.2006 US 11/326,042 

Реферат


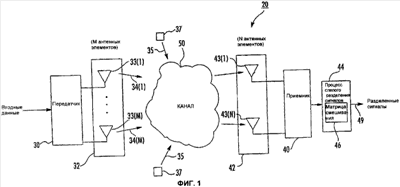
Изобретение относится к области систем связи и, в частности, к приемнику системы с множеством входов и множеством выходов (MIMO), работающему с компактной антенной решеткой. Техническим результатом являются уменьшение количества антенных элементов в приемнике системы с множеством входов и множеством выходов (MIMO) по сравнению с количеством антенных элементов в передатчике системы MIMO и сохранение надежности системы связи MIMO. Технический результат достигается тем, что на приемной стороне приемная антенная решетка соединена с приемником и содержит N антенных элементов для приема, по меньшей мере, М различных сумм из М сигналов источника, где N меньше М. Процессор разделения сигналов соединен с приемником для формирования матрицы смешивания, содержащей, по меньшей мере, М различных сумм из М сигналов источника, таким образом, чтобы матрица смешивания имела ранг, равный, по меньшей мере, М. Процессор разделения сигналов выделяет полезные сигналы источника из матрицы смешивания 2 н. и 22 з.п. ф-лы, 6 ил.

Дирекция сайта "Промышленная Сибирь"
Россия, г.Омск, ул.Учебная, 199-Б, к.408А
Сайт открыт 01.11.2000
© 2000-2018 Промышленная Сибирь
Разработка дизайна сайта:
Дизайн-студия "RayStudio"