|
На данной странице представлена ознакомительная часть выбранного Вами патента
Для получения более подробной информации о патенте (полное описание, формула изобретения и т.д.) Вам необходимо сделать заказ. Нажмите на «Корзину»
| ЛИНИЯ РАДИОСВЯЗИ |  |
Номер публикации патента: 2173025 |  |
| Редакция МПК: | 7 | | Основные коды МПК: | H04B007/10 | | Аналоги изобретения: | SU 1385305 A1, 30.03.1998. RU 2114509 С1, 27.06.1998. US 4087818, 02.05.1978. JP 54-41851, 02.12.1979. EP 0656697 A2, 07.06.1995. |
| Имя заявителя: | Государственное унитарное предприятие Воронежский научно-исследовательский институт связи | | Изобретатели: | Заплетин Ю.В. Безгинов И.Г. | | Патентообладатели: | Государственное унитарное предприятие Воронежский научно-исследовательский институт связи |
Реферат |  |
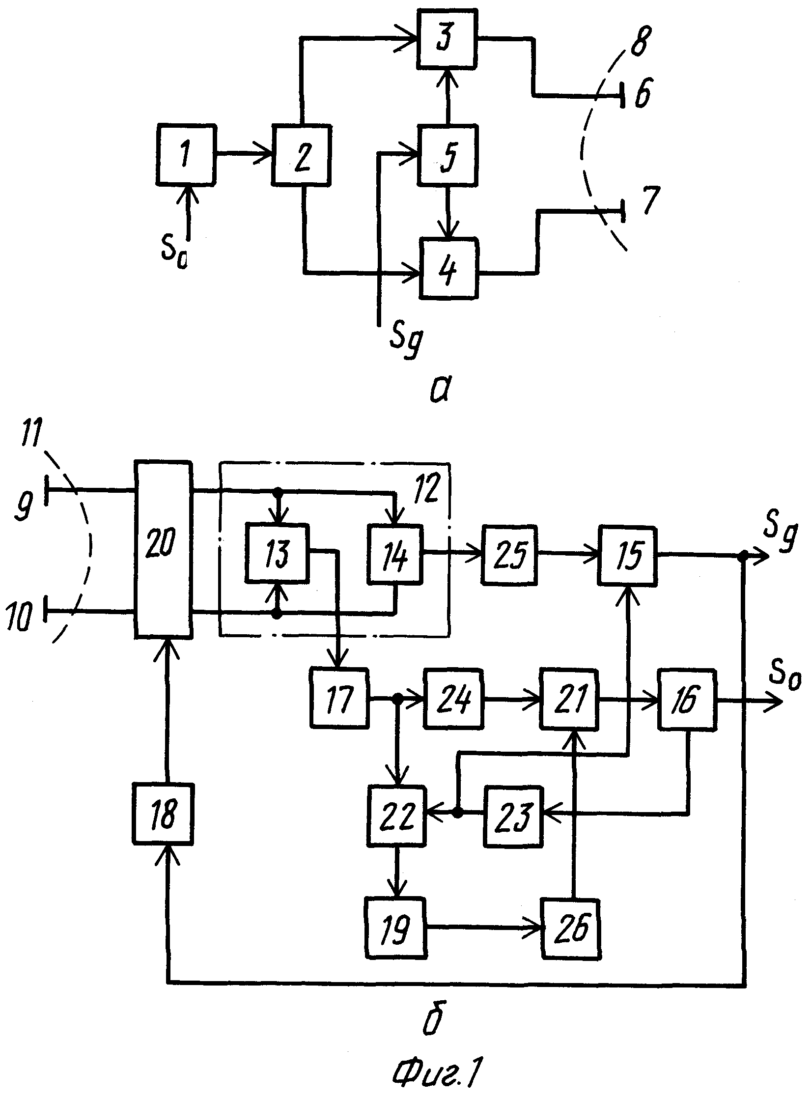
Изобретение относится к радиосвязи и может быть использовано в космических и наземных системах радиосвязи с повторным использованием частоты. Достигаемый технический результат - увеличение объема передаваемой информации и повышение скрытности передачи. Линия радиосвязи содержит на передающей стороне разветвитель мощности, два амплитудных модулятора, противофазный усилитель, два облучателя передающей антенны, передающую антенну, кодер для информации, источник основных информационных сообщений, генератор псевдослучайной последовательности, фазовый модулятор, синтезатор частот передатчика, n смесителей передатчика, n полосовых фильтров передатчика, схему выбора максимума передатчика, на приемной стороне - приемную антенну, два облучателя приемной антенны, сумматор, вычитающий блок, синхронный детектор, амплитудный ограничитель, демодулятор основных сообщений, фильтр нижних частот, блок управления положением осей поляризации облучателей приемной антенны, первый полосовой фильтр приемника, синтезатор частот приемника, n смесителей приемника, n вторых полосовых фильтров приемника, схему выбора максимума приемника, демодулятор, пороговый блок приемника, n третьих полосовых фильтров приемника, декодер для информации S1. 2 ил.
|