Промышленная Сибирь Ярмарка Сибири Промышленность СФО Электронные торги НОУ-ХАУ Электронные магазины Карта сайта
 
 

Поиск патентов

Как искать?
Реферат
Название
Публикация
Регистрационный номер
Имя заявителя
Имя изобретателя
Имя патентообладателя

    





Оформить заказ и задать интересующие Вас вопросы Вы можете напрямую c 6-00 до 14-30 по московскому времени кроме сб, вс. whatsapp 8-950-950-9888

На данной странице представлена ознакомительная часть выбранного Вами патента

Для получения более подробной информации о патенте (полное описание, формула изобретения и т.д.) Вам необходимо сделать заказ. Нажмите на «Корзину»


ЭЛЕКТРИЧЕСКИЙ ПРИВОД И СПОСОБ УПРАВЛЕНИЯ ИМ

Номер публикации патента: 2477561

Вид документа: C2 
Страна публикации: RU 
Рег. номер заявки: 2010114254/07 
  Сделать заказПолучить полное описание патента

Редакция МПК: 
Основные коды МПК: H02P006/12   H02P006/18    
Аналоги изобретения: RU 2096906 C1, 20.11.1997. RU 2279757 C2, 10.07.2006. RU 2207700 C2, 27.06.2003. RU 2088039 C1, 20.08.1997. US 7034478 B2, 25.04.2006. US 5539354 A, 23.07.1996. US 2006261767 A1, 23.11.2006. JP 2006115678 A, 27.04.2006. 

Имя заявителя: СПАЛ АУТОМОТИВЕ С.Р.Л. (IT) 
Изобретатели: ДЕ ФИЛИППИС Пьетро (IT) 
Патентообладатели: СПАЛ АУТОМОТИВЕ С.Р.Л. (IT) 
Приоритетные данные: 12.09.2007 IT BO2007A000619 

Реферат


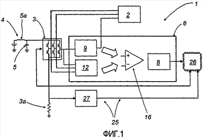
Изобретение относится к области электротехники и может быть использовано в электрическом приводе для бесщеточного двигателя с постоянными магнитами и способу его управления. Техническим результатом является создание малошумного, имеющего низкое потребление энергии привода. Электрический привод (1) содержит: бесщеточный двигатель (2) с постоянным магнитом, мост (3) источника питания двигателя (2), схему для управления мостом (3) источника питания в соответствии с положением ротора и фазными токами (IS ); при этом привод (1) содержит схему (6) для детектирования пересечений нуля индуцированной в обмотках статора противоэлектродвижущей силой (ES), для определения положения ротора, и схему (25) для косвенного детектирования амплитуд фазных токов (I S). 4 з.п. ф-лы, 10 ил.

Дирекция сайта "Промышленная Сибирь"
Россия, г.Омск, ул.Учебная, 199-Б, к.408А
Сайт открыт 01.11.2000
© 2000-2018 Промышленная Сибирь
Разработка дизайна сайта:
Дизайн-студия "RayStudio"