Промышленная Сибирь Ярмарка Сибири Промышленность СФО Электронные торги НОУ-ХАУ Электронные магазины Карта сайта
 
 

Поиск патентов

Как искать?
Реферат
Название
Публикация
Регистрационный номер
Имя заявителя
Имя изобретателя
Имя патентообладателя

    





Оформить заказ и задать интересующие Вас вопросы Вы можете напрямую c 6-00 до 14-30 по московскому времени кроме сб, вс. whatsapp 8-950-950-9888

На данной странице представлена ознакомительная часть выбранного Вами патента

Для получения более подробной информации о патенте (полное описание, формула изобретения и т.д.) Вам необходимо сделать заказ. Нажмите на «Корзину»


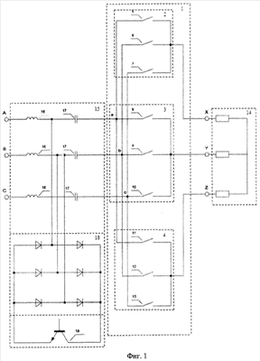
ПОВЫШАЮЩЕ - ПОНИЖАЮЩИЙ НЕПОСРЕДСТВЕННЫЙ ПРЕОБРАЗОВАТЕЛЬ ЧАСТОТЫ

Номер публикации патента: 2408968

Вид документа: C1 
Страна публикации: RU 
Рег. номер заявки: 2009149815/07 
  Сделать заказПолучить полное описание патента

Редакция МПК: 
Основные коды МПК: H02M005/27    
Аналоги изобретения: RU 2194353 C2, 10.08.2002. US 2009015992 A1, 15.01.2009. US 200301/0179594 A1, 25.09.2003. 

Имя заявителя: Государственное образовательное учреждение высшего профессионального образования Новосибирский государственный технический университет (RU) 
Изобретатели: Зиновьев Геннадий Степанович (RU)
Зотов Леонид Григорьевич (RU) 
Патентообладатели: Государственное образовательное учреждение высшего профессионального образования Новосибирский государственный технический университет (RU) 

Реферат


Повышающе-понижающий непосредственный преобразователь частоты относится к электротехнике, а именно к области силовой электроники, и может быть использован для непосредственного преобразования многофазного переменного напряжения одной частоты в многофазное переменное напряжение другой частоты, регулируемое как вниз, так и вверх от частоты входного напряжения, и с возможностью получения выходного напряжения как большей величины, чем входное напряжение, так и меньшей. Такие преобразователи применимы прежде всего для целей частотного регулирования электропривода переменного тока, а также в автономных системах генерирования переменного тока. Предлагаемый повышающе-понижающий непосредственный преобразователь частоты состоит из классического трехфазно-трехфазного непосредственного преобразователя частоты на девяти ключах переменного напряжения, на вход которого включена коммутируемая LC-цепь. Она состоит из последовательно соединенных с каждой фазой входа накопительного реактора и накопительного конденсатора, а также трехфазного мостового диодного выпрямителя с транзистором на выходе, при этом накопительные реакторы и накопительные конденсаторы включены последовательно между питающей сетью и входами классического непосредственного преобразователя частоты. К точкам соединения накопительных реакторов и накопительных конденсаторов подключены входы трехфазного мостового диодного выпрямителя с транзистором на выходе. Предлагаемый повышающе-понижающий непосредственный преобразователь частоты обеспечивает технический результат - имеет более простую конструкцию. 4 ил.

Дирекция сайта "Промышленная Сибирь"
Россия, г.Омск, ул.Учебная, 199-Б, к.408А
Сайт открыт 01.11.2000
© 2000-2018 Промышленная Сибирь
Разработка дизайна сайта:
Дизайн-студия "RayStudio"