Промышленная Сибирь Ярмарка Сибири Промышленность СФО Электронные торги НОУ-ХАУ Электронные магазины Карта сайта
 
 

Поиск патентов

Как искать?
Реферат
Название
Публикация
Регистрационный номер
Имя заявителя
Имя изобретателя
Имя патентообладателя

    





Оформить заказ и задать интересующие Вас вопросы Вы можете напрямую c 6-00 до 14-30 по московскому времени кроме сб, вс. whatsapp 8-950-950-9888

На данной странице представлена ознакомительная часть выбранного Вами патента

Для получения более подробной информации о патенте (полное описание, формула изобретения и т.д.) Вам необходимо сделать заказ. Нажмите на «Корзину»


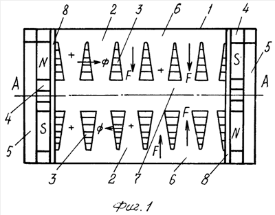
МАГНИТОГИДРОДИНАМИЧЕСКИЙ ГЕНЕРАТОР

Номер публикации патента: 2409886

Вид документа: C1 
Страна публикации: RU 
Рег. номер заявки: 2010107586/07 
  Сделать заказПолучить полное описание патента

Редакция МПК: 
Основные коды МПК: H02K044/08   H02K044/12    
Аналоги изобретения: RU 2346378 С1, 10.09.2009. RU 2026244 С1, 03.01.1995. SU 698469 А1, 20.05.1995. SU 175583 А, 09.12.1965. ЕР 0058266 А1, 25.08.1982. US 3551732 А, 29.12.1970. US 3519854 А, 07.07.1970. GB 1043004 А, 21.09.1966. DE 2513975 А1, 07.10.1976. GB 1168449 А, 22.10.1969. КУРБАСОВ А.С. Электрические машины с радиальным перемещением подвижной массы, «Электричество» 1, 2009. 

Имя заявителя: Курбасов Александр Севостьянович (RU) 
Изобретатели: Курбасов Александр Севостьянович (RU) 
Патентообладатели: Курбасов Александр Севостьянович (RU) 

Реферат


Изобретение относится к области электротехники и направлено на усовершенствование электрических машин, используемых в силовой электроэнергетике. Технический результат состоит в повышении производительности за счет возможности повышения температуры ионизированного газа. Магнитогидродинамический (МГД) генератор выполнен с несколькими каналами, расположенными в зоне действия магнитного потока, создаваемого полюсной системой. Сечение каналов выполнено в виде сопла, обращенного к поперечной оси МГД генератора. Каналы при этом расположены по обе стороны поперечной оси МГД генератора и направлены к ней перпендикулярно. 1 з.п. ф-лы, 2 ил.

Дирекция сайта "Промышленная Сибирь"
Россия, г.Омск, ул.Учебная, 199-Б, к.408А
Сайт открыт 01.11.2000
© 2000-2018 Промышленная Сибирь
Разработка дизайна сайта:
Дизайн-студия "RayStudio"