Промышленная Сибирь Ярмарка Сибири Промышленность СФО Электронные торги НОУ-ХАУ Электронные магазины Карта сайта
 
 

Поиск патентов

Как искать?
Реферат
Название
Публикация
Регистрационный номер
Имя заявителя
Имя изобретателя
Имя патентообладателя

    





Оформить заказ и задать интересующие Вас вопросы Вы можете напрямую c 6-00 до 14-30 по московскому времени кроме сб, вс. whatsapp 8-950-950-9888

На данной странице представлена ознакомительная часть выбранного Вами патента

Для получения более подробной информации о патенте (полное описание, формула изобретения и т.д.) Вам необходимо сделать заказ. Нажмите на «Корзину»


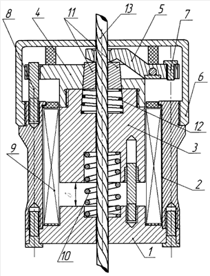
ЛИНЕЙНЫЙ ШАГОВЫЙ ЭЛЕКТРОМАГНИТНЫЙ ДВИГАТЕЛЬ

Номер публикации патента: 2366065

Вид документа: C1 
Страна публикации: RU 
Рег. номер заявки: 2008118610/09 
  Сделать заказПолучить полное описание патента

Редакция МПК: 
Основные коды МПК: H02K041/03    
Аналоги изобретения: RU 59343 U1, 10.12.2006. SU 1483563 A1, 30.05.1989. SU 420058 A, 15.03.1974. RU 2149493 C1, 20.05.2000. SU 957366 A, 09.09.1982. SU 1365275 A1, 07.01.1988. US 5148067 A, 15.09.1992. 

Имя заявителя: Усанов Константин Михайлович (RU),
Моисеев Алексей Петрович (RU),
Волгин Андрей Валерьевич (RU),
Каргин Виталий Александрович (RU) 
Изобретатели: Усанов Константин Михайлович (RU)
Моисеев Алексей Петрович (RU)
Волгин Андрей Валерьевич (RU)
Каргин Виталий Александрович (RU) 
Патентообладатели: Усанов Константин Михайлович (RU)
Моисеев Алексей Петрович (RU)
Волгин Андрей Валерьевич (RU)
Каргин Виталий Александрович (RU) 

Реферат


Изобретение относится к электротехнике и может быть использовано для создания машин с дискретным поступательным неограниченным движением рабочего органа. Технический результат заключается в упрощении конструкции при расширении эксплуатационных возможностей и областей применения. Устройство содержит статор, состоящий из боковой части (2) и нижней части (1). В расточке статора размещена обмотка (9). Якорь выполнен комбинированным и состоит из цилиндрической части (3) и плоской дисковой части (4) со стороны направляющего корпуса (6). Между нижней частью статора (1) и цилиндрической частью якоря (3) размещена возвратная пружина (10). Рабочий орган (13) может быть выполнен в виде троса, гибкой штанги или проволоки, пропущенных в осевой канал якоря через отверстия в направляющем корпусе (6) и нижней части статора (1). Силовое сочленение рабочего органа с якорем на рабочем ходе обеспечивается подпружиненными заклинивающими конусными элементами (11), например, в виде кулачков, размыкание которых при холостом ходе производится механизмом размыкания в виде двуплечего поворотного рычага (5), размещенного одним плечом в проточке дисковой части якоря (4), а вторым - на стопорных элементах (11). Рычаг имеет сквозное отверстие для размещения рабочего органа. Соосность якоря и статора задается направляющими штифтами (8). 1 ил.

Дирекция сайта "Промышленная Сибирь"
Россия, г.Омск, ул.Учебная, 199-Б, к.408А
Сайт открыт 01.11.2000
© 2000-2018 Промышленная Сибирь
Разработка дизайна сайта:
Дизайн-студия "RayStudio"