Промышленная Сибирь Ярмарка Сибири Промышленность СФО Электронные торги НОУ-ХАУ Электронные магазины Карта сайта
 
 

Поиск патентов

Как искать?
Реферат
Название
Публикация
Регистрационный номер
Имя заявителя
Имя изобретателя
Имя патентообладателя

    





Оформить заказ и задать интересующие Вас вопросы Вы можете напрямую c 6-00 до 14-30 по московскому времени кроме сб, вс. whatsapp 8-950-950-9888

На данной странице представлена ознакомительная часть выбранного Вами патента

Для получения более подробной информации о патенте (полное описание, формула изобретения и т.д.) Вам необходимо сделать заказ. Нажмите на «Корзину»


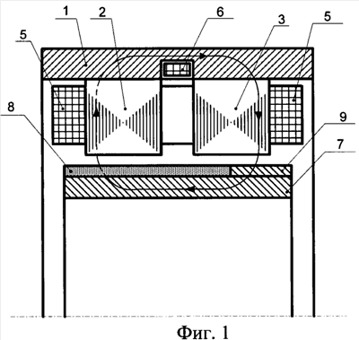
ГЕНЕРАТОР ПЕРЕМЕННОГО ТОКА С КОМБИНИРОВАННЫМ ВОЗБУЖДЕНИЕМ

Номер публикации патента: 2439770

Вид документа: C1 
Страна публикации: RU 
Рег. номер заявки: 2010141252/07 
  Сделать заказПолучить полное описание патента

Редакция МПК: 
Основные коды МПК: H02K019/16   H02K021/14   H02K001/27    
Аналоги изобретения: RU 2244996 C1, 20.01.2005. SU 1721734 A1, 23.03.1992. RU 2121208 C1, 27.10.1998. US 4959577 A, 25.09.1990. GB 1046844 A, 27.10.1966. FR 2289059 A1, 21.05.1976. 

Имя заявителя: Государственное образовательное учреждение высшего профессионального образования "Южно-Уральский государственный университет" (RU) 
Изобретатели: Воронин Сергей Григорьевич (RU)
Согрин Андрей Игоревич (RU)
Мурдасов Борис Александрович (RU)
Кислицин Вячеслав Иванович (RU) 
Патентообладатели: Государственное образовательное учреждение высшего профессионального образования "Южно-Уральский государственный университет" (RU) 

Реферат


Изобретение относится к области электротехники и электромашиностроения, а именно к генераторам электрической энергии автономных источников питания. Технический результат, достигаемый при использовании предлагаемого изобретения, состоит в повышении энергетических показателей генератора и обеспечении возможности получения напряжения повышенной частоты при низких скоростях вращения генератора. Указанный технический результат достигается тем, что предлагаемый генератор переменного тока содержит статор, состоящий из двух шихтованных пакетов с многофазной обмоткой, впрессованных в массивный магнитопровод, неподвижной обмотки возбуждения, расположенной между шихтованными пакетами статора и ротор с укороченными полюсами. При этом полюса выполнены в виде намагниченных радиально и укороченных в аксиальном направлении постоянных магнитов, причем укорочение для полюсов разной полярности выполнено с противоположных сторон и на место укорочения добавлена вставка из магнитомягкого материала, число полюсов ротора отличается от числа зубцов статора на один или два, обмотка статора состоит из катушек, каждая из которых надета на два расположенных друг против друга зубца обоих шихтованных пакетов. 3 ил.

Дирекция сайта "Промышленная Сибирь"
Россия, г.Омск, ул.Учебная, 199-Б, к.408А
Сайт открыт 01.11.2000
© 2000-2018 Промышленная Сибирь
Разработка дизайна сайта:
Дизайн-студия "RayStudio"