Промышленная Сибирь Ярмарка Сибири Промышленность СФО Электронные торги НОУ-ХАУ Электронные магазины Карта сайта
 
 

Поиск патентов

Как искать?
Реферат
Название
Публикация
Регистрационный номер
Имя заявителя
Имя изобретателя
Имя патентообладателя

    





Оформить заказ и задать интересующие Вас вопросы Вы можете напрямую c 6-00 до 14-30 по московскому времени кроме сб, вс. whatsapp 8-950-950-9888

На данной странице представлена ознакомительная часть выбранного Вами патента

Для получения более подробной информации о патенте (полное описание, формула изобретения и т.д.) Вам необходимо сделать заказ. Нажмите на «Корзину»


АВТОМАТИЗИРОВАННЫЙ ПРОГРАММНО - АППАРАТНЫЙ КОМПЛЕКС ДЛЯ ЗАРЯДА И ТРЕНИРОВКИ АККУМУЛЯТОРНЫХ БАТАРЕЙ "ПРИЗМА"

Номер публикации патента: 2371825

Вид документа: C2 
Страна публикации: RU 
Рег. номер заявки: 2007147484/09 
  Сделать заказПолучить полное описание патента

Редакция МПК: 
Основные коды МПК: H02J007/10    
Аналоги изобретения: SU 729701 А, 25.04.1980. RU 2267847 C1, 10.01.2006. RU 2216087 C1, 10.11.2003. RU 2134477 C1, 10.08.1999. RU 2215353 C2, 27.10.2003. RU 2183887 C2, 20.06.2002. RU 2267200 C1, 27.12.2005. RU 2267848 C1, 10.01.2006. RU 2271061 C1, 27.02.2006. RU 2271062 C1, 27.02.2006. RU 2265268 С1, 27.11.2005. RU 144771, 27.07.2000. US 4313078 А, 26.11.1982. US 5905361 A, 27.11.2005. 

Имя заявителя: Закрытое акционерное общество Производственное объединение "Комплекс" (RU),
Общество с ограниченной ответственностью "Производственное предприятие "Призма" (RU) 
Изобретатели: Печёрских Владимир Николаевич (RU)
Минин Юрий Васильевич (RU)
Кобзев Виктор Николаевич (RU)
Суров Дмитрий Васильевич (RU) 
Патентообладатели: Закрытое акционерное общество Производственное объединение "Комплекс" (RU)
Общество с ограниченной ответственностью "Производственное предприятие "Призма" (RU) 

Реферат


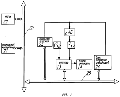
Изобретение относится к устройствам для обслуживания и поддержания в рабочем состоянии электрических батарей, в частности аккумуляторных батарей, а именно: свинцовых стартерных электролитных аккумуляторных батарей, емкостью до 200 А/час. Стеллаж комплекса содержит металлический стол (1) с ячейками (2) для аккумуляторных батарей (4) (АБ). Батареи установлены на рольгангах (5). Боковые стенки (7) и крышка (9) выполнены из прозрачного материала. Рама стола заземлена. Снаружи задней стенки (8) - вытяжной воздуховод (10). В стеллаж введены программно-управляемые измерительные адаптеры с панелями индикации и подключенные к ним датчики напряжения и датчики температуры электролита. На панелях индикации отображается состояние АБ (4): включение; заряд; разряд; блокировка; шкала уровня заряда АБ; работа; наличие связи по сети управления зарядом/разрядом. Источники питания выполнены импульсными программно-управляемыми. Разрядные цепи выполнены в виде блока разрядных резисторов. Программное устройство управления зарядом/разрядом АБ состоит из системного контроллера и ПЭВМ. Обмен информацией между источником питания, адаптером, блоком разрядных резисторов и устройством управления осуществляется через интерфейс. Технический результат состоит в выполнении операций заряда и тренировки электролитных АБ, программном управлении зарядом/разрядом АБ, улучшении условий заряда АБ, повышении безопасности работы. 2 з.п. ф-лы, 3 ил.

Дирекция сайта "Промышленная Сибирь"
Россия, г.Омск, ул.Учебная, 199-Б, к.408А
Сайт открыт 01.11.2000
© 2000-2018 Промышленная Сибирь
Разработка дизайна сайта:
Дизайн-студия "RayStudio"