Промышленная Сибирь Ярмарка Сибири Промышленность СФО Электронные торги НОУ-ХАУ Электронные магазины Карта сайта
 
 

Поиск патентов

Как искать?
Реферат
Название
Публикация
Регистрационный номер
Имя заявителя
Имя изобретателя
Имя патентообладателя

    





Оформить заказ и задать интересующие Вас вопросы Вы можете напрямую c 6-00 до 14-30 по московскому времени кроме сб, вс. whatsapp 8-950-950-9888

На данной странице представлена ознакомительная часть выбранного Вами патента

Для получения более подробной информации о патенте (полное описание, формула изобретения и т.д.) Вам необходимо сделать заказ. Нажмите на «Корзину»


ПОСЛЕДОВАТЕЛЬНЫЙ КОНДЕНСАТОР С ТИРИСТОРНЫМ УПРАВЛЕНИЕМ, ВЫПОЛНЕННЫЙ С ВОЗМОЖНОСТЬЮ ГАШЕНИЯ ПОДСИНХРОННЫХ РЕЗОНАНСОВ

Номер публикации патента: 2433517

Вид документа: C2 
Страна публикации: RU 
Рег. номер заявки: 2008152412/07 
  Сделать заказПолучить полное описание патента

Редакция МПК: 
Основные коды МПК: H02J003/24   H02J003/18    
Аналоги изобретения: RU 2044401 С1, 20.09.1995. RU 2263925 С2, 10.11.2005. SU 775725 А, 30.10.1980. JP 9252537 А, 22.09.1997. JP 62071496 А, 02.04.1987. US 5801459 А, 01.09.1998. 

Имя заявителя: АББ РИСЕРЧ ЛТД (CH) 
Изобретатели: ЭНГКВИСТ Леннарт (SE)
ЧЖОУ Чанчунь (CN)
ЛЮ Цюаньцзинь (CN) 
Патентообладатели: АББ РИСЕРЧ ЛТД (CH) 

Реферат


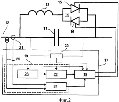
Изобретение относится к управлению колебаниями и системе электрического питания и может быть использовано в системе электрического питания, содержащей электрическую и механическую цепи, например при работе электрогенератора и турбины, соединенных между собой валом. Устройство (17) для управления средством последовательного конденсатора с тиристорным управлением, соединенное с линией (12) передачи электроэнергии, включает управляющее устройство, содержащее управление (18) запуском тиристора и средство для осуществления требуемого напряжения конденсатора, проходящего через ноль в зависимости от тока линии и напряжения конденсатора, в ответ на командный сигнал, и командное управление (19), которое предназначено для обеспечения командного сигнала для управления запуском тиристора, и содержит командное управление (24) гашением, содержащее средство для обеспечения гашения, по меньшей мере, на одной дискретной частоте. Уменьшение присутствия подсинхронных резонансов (SSR), которые могут нанести ущерб механическому или электрическому оборудованию, является техническим результатом изобретения. Кроме того, в предложенном устройстве благодаря средствам защиты положительное гашение от электрической сети системы питания не зависит от положительного гашения механической системы. 8 з.п. ф-лы, 5 ил.

Дирекция сайта "Промышленная Сибирь"
Россия, г.Омск, ул.Учебная, 199-Б, к.408А
Сайт открыт 01.11.2000
© 2000-2018 Промышленная Сибирь
Разработка дизайна сайта:
Дизайн-студия "RayStudio"