Промышленная Сибирь Ярмарка Сибири Промышленность СФО Электронные торги НОУ-ХАУ Электронные магазины Карта сайта
 
 

Поиск патентов

Как искать?
Реферат
Название
Публикация
Регистрационный номер
Имя заявителя
Имя изобретателя
Имя патентообладателя

    





Оформить заказ и задать интересующие Вас вопросы Вы можете напрямую c 6-00 до 14-30 по московскому времени кроме сб, вс. whatsapp 8-950-950-9888

На данной странице представлена ознакомительная часть выбранного Вами патента

Для получения более подробной информации о патенте (полное описание, формула изобретения и т.д.) Вам необходимо сделать заказ. Нажмите на «Корзину»


ПРЕОБРАЗОВАТЕЛЬНАЯ ПОДСТАНЦИЯ

Номер публикации патента: 2396664

Вид документа: C2 
Страна публикации: RU 
Рег. номер заявки: 2008133584/09 
  Сделать заказПолучить полное описание патента

Редакция МПК: 
Основные коды МПК: H02J003/36    
Аналоги изобретения: ЕР 0736949 А1, 09.10.1996. RU 2089986 C1, 10.09.1997. RU 2002111927 A, 27.11.2003. US 3952210 A, 20.04.1976. 

Имя заявителя: АББ ТЕКНОЛОДЖИ ЛТД. (CH) 
Изобретатели: РАДБРАНТ Ульф (SE)
ЮХЛИН Ларс-Эрик (SE) 
Патентообладатели: АББ ТЕКНОЛОДЖИ ЛТД. (CH) 
Приоритетные данные: 18.01.2006 US 60/759570 

Реферат


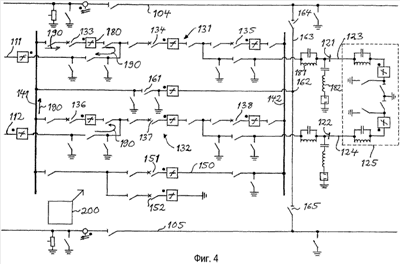
Использование: в области электротехники. Технический результат заключается в повышении надежности электропередачи. Преобразовательная подстанция для подключения системы переменного тока с биполярной линией передачи HVDC электроэнергии имеет установку нейтрали DC, выполненную с первыми DC выключателями, позволяющими разрывать первую токовую цепь между нейтральной шиной (111) одного проводника (104) упомянутой линии передачи электроэнергии и нейтральной шиной другого проводника (105) при биполярном режиме подстанции для изоляции неисправного сектора и переключения на однополярный режим/обратный ход. Установка нейтрали DC имеет на упомянутой первой токовой цепи, по меньшей мере, два первых DC выключателя (133, 136 и 134, 137), подключенных последовательно и выполненных с возможностью функционировать как резерв друг для друга в том случае, если некоторый из них не сможет разомкнуть первую токовую цепь для изоляции неисправного сектора за счет перехода с биполярного на однополярный режим. 12 з.п. ф-лы, 4 ил.

Дирекция сайта "Промышленная Сибирь"
Россия, г.Омск, ул.Учебная, 199-Б, к.408А
Сайт открыт 01.11.2000
© 2000-2018 Промышленная Сибирь
Разработка дизайна сайта:
Дизайн-студия "RayStudio"