Промышленная Сибирь Ярмарка Сибири Промышленность СФО Электронные торги НОУ-ХАУ Электронные магазины Карта сайта
 
 

Поиск патентов

Как искать?
Реферат
Название
Публикация
Регистрационный номер
Имя заявителя
Имя изобретателя
Имя патентообладателя

    





Оформить заказ и задать интересующие Вас вопросы Вы можете напрямую c 6-00 до 14-30 по московскому времени кроме сб, вс. whatsapp 8-950-950-9888

На данной странице представлена ознакомительная часть выбранного Вами патента

Для получения более подробной информации о патенте (полное описание, формула изобретения и т.д.) Вам необходимо сделать заказ. Нажмите на «Корзину»


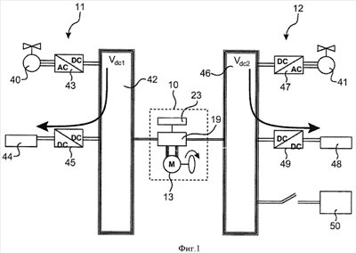
КОМБИНИРОВАННОЕ УСТРОЙСТВО ДЛЯ УПРАВЛЕНИЯ ПЕРЕДАЧЕЙ МОЩНОСТИ МЕЖДУ ДВУМЯ ЦЕНТРАМИ СЕТИ ПОСТОЯННОГО ТОКА И ПИТАНИЯ ДВИГАТЕЛЯ ПЕРЕМЕННОГО ТОКА

Номер публикации патента: 2407128

Вид документа: C2 
Страна публикации: RU 
Рег. номер заявки: 2008121226/07 
  Сделать заказПолучить полное описание патента

Редакция МПК: 
Основные коды МПК: H02J001/14   H02J001/00   H02J011/00    
Аналоги изобретения: RU 2260237 С2, 10.09.2005. KU 2089986 C1, 10.09.1997. SU 439048 A1, 05.08.1974. GB 1588781 A, 29.04.1981. US 2005047039 A1, 03.03.2005. DE 19624555 A1, 02.01.1998. ЕР 1494343 А, 05.01.2005. 

Имя заявителя: ЭРБЮС ФРАНС (FR),
САНТР НАСЬОНАЛЬ ДЕ ЛЯ РЕШЕРШ СЬЕНТИФИК (FR) 
Изобретатели: РОЛЕН Лоик (FR)
ПИКЕ Юбер (FR)
РОБОАМ Ксавье (FR)
ФОШ Анри (FR)
РЕНЬЕ Жереми (FR) 
Патентообладатели: ЭРБЮС ФРАНС (FR)
САНТР НАСЬОНАЛЬ ДЕ ЛЯ РЕШЕРШ СЬЕНТИФИК (FR) 
Приоритетные данные: 27.10.2005 FR 0553270 

Реферат


Изобретение относится к области электротехники и может быть использовано в сетях постоянного тока на борту летательного аппарата и в любых типах бортовых сетей (морское судно, автомобиль и т.д. и в не бортовых сетях, например в стационарных сетях (локальная сеть постоянного тока, железнодорожная сеть и т.д.). Техническим результатом является снижение рисков нестабильности и обеспечение качества и подачи мощности как в нормальном, так и в аварийном режиме (отключение источника, перегрузка мощности на центре и т.д.). Комбинированное устройство (10) для управления передачей мощности между двумя центрами (42, 46) сети постоянного тока и питания двигателя (13) переменного тока содержит блок (19) из двух трехфазных инверторов, каждый из которых включает в себя три коммутационных элемента, соединенных с указанным двигателем (13), при этом двигатель (13) содержит три обмотки статора, соединенные с двумя трехфазными инверторами. Также устройство содержит модуль (23) управления указанным блоком (19), обеспечивающий возможность регулируемой передачи энергии на постоянном токе, стабилизации постоянного напряжения на одном из двух указанных центров при отсоединении другого и управления двигателем (13). 2 н. и 2 з.п. ф-лы, 7 ил.

Дирекция сайта "Промышленная Сибирь"
Россия, г.Омск, ул.Учебная, 199-Б, к.408А
Сайт открыт 01.11.2000
© 2000-2018 Промышленная Сибирь
Разработка дизайна сайта:
Дизайн-студия "RayStudio"