Промышленная Сибирь Ярмарка Сибири Промышленность СФО Электронные торги НОУ-ХАУ Электронные магазины Карта сайта
 
 

Поиск патентов

Как искать?
Реферат
Название
Публикация
Регистрационный номер
Имя заявителя
Имя изобретателя
Имя патентообладателя

    





Оформить заказ и задать интересующие Вас вопросы Вы можете напрямую c 6-00 до 14-30 по московскому времени кроме сб, вс. whatsapp 8-950-950-9888

На данной странице представлена ознакомительная часть выбранного Вами патента

Для получения более подробной информации о патенте (полное описание, формула изобретения и т.д.) Вам необходимо сделать заказ. Нажмите на «Корзину»


КОРПУС ДЛЯ ЭЛЕКТРИЧЕСКОГО РАСПРЕДЕЛИТЕЛЬНОГО ЩИТА

Номер публикации патента: 2390081

Вид документа: C2 
Страна публикации: RU 
Рег. номер заявки: 2007146686/09 
  Сделать заказПолучить полное описание патента

Редакция МПК: 
Основные коды МПК: H02B001/30   H02B001/16    
Аналоги изобретения: WO 02/073761 А, 19.09.2002. 98116149 A, 20.06.2000. SU 1348931 A1, 30.10.1987. SU 1359836 A1, 15.12.1987. US 5944439 A, 31.08.1999. 

Имя заявителя: БТИЧИНО С.П.А. (IT) 
Изобретатели: ЛОДИ Фабрицио (IT)
ПИЦЦАДИНИ Алессио (IT) 
Патентообладатели: БТИЧИНО С.П.А. (IT) 
Приоритетные данные: 17.05.2005 IT MI2005A000898 

Реферат


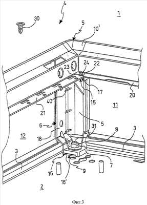
Изобретение относится к электротехнике и может быть использовано в электрических распределительных щитах. Технический результат состоит в упрощении заземления. Корпус для электрического распределительного щита (1) предназначен для электрических устройств, состоит из задней стенки (2), двух боковых стенок, нижней и верхней стенок и изготовлен из электропроводного материала и четырех угловых элементов (5), изготовленных из электроизолирующего материала. Угловой элемент соединяет упомянутую заднюю стенку (2) с упомянутыми боковой и нижней/верхней стенками. Корпус для электрического распределительного щита дополнительно содержит скобы (6) из электропроводного материала, которые устанавлены в угловые элементы (5) и имеют первую оконечность (16), находящуюся в электрическом контакте с задней стенкой (2), и вторую оконечность (17), находящуюся в электрическом контакте с упомянутой боковой стенкой и нижней/верхней стенкой. 14 з.п. ф-лы, 4 ил.

Дирекция сайта "Промышленная Сибирь"
Россия, г.Омск, ул.Учебная, 199-Б, к.408А
Сайт открыт 01.11.2000
© 2000-2018 Промышленная Сибирь
Разработка дизайна сайта:
Дизайн-студия "RayStudio"