|
На данной странице представлена ознакомительная часть выбранного Вами патента
Для получения более подробной информации о патенте (полное описание, формула изобретения и т.д.) Вам необходимо сделать заказ. Нажмите на «Корзину»
| ДРАЙВЕР ПОЛУПРОВОДНИКОВОГО ЛАЗЕРА |  |
Номер публикации патента: 2172514 |  |
| Редакция МПК: | 7 | | Основные коды МПК: | G05B006/02 H01S005/00 | | Аналоги изобретения: | PRODUCT CATALOG 96/97, SDL INC., 1<SP POS="POST">ST</SP> EDITION, SAN JOSE, CAROLINA, USA, SCA 95, "SDL-8110-L", "С", p.l4-15; "LASER DIODE DRIVER SDL-8110-B", SDL INC., SAN JOSE, CAROLINA 95134 USA, Schematic Diagram 9.1-9.4, 1995. RU 2129721 C1, 27.04.1999. JP 03159184 A, 09.07.1991. JP 05243652 A, 21.09.1993. US 5802089, 01.09.1998. US 5675600, 07.10.1997. JP 10112564 A, 28.04.1998. EP 0886350 A, 23.12.1998. US 5473623, 05.12.1995. |
| Имя заявителя: | ЗАО "Биоспек" | | Изобретатели: | Башкатов И.П. Линьков К.Г. Лощенов В.Б. | | Патентообладатели: | Башкатов Иван Павлович Линьков Кирилл Геннадиевич Лощенов Виктор Борисович |
Реферат |  |
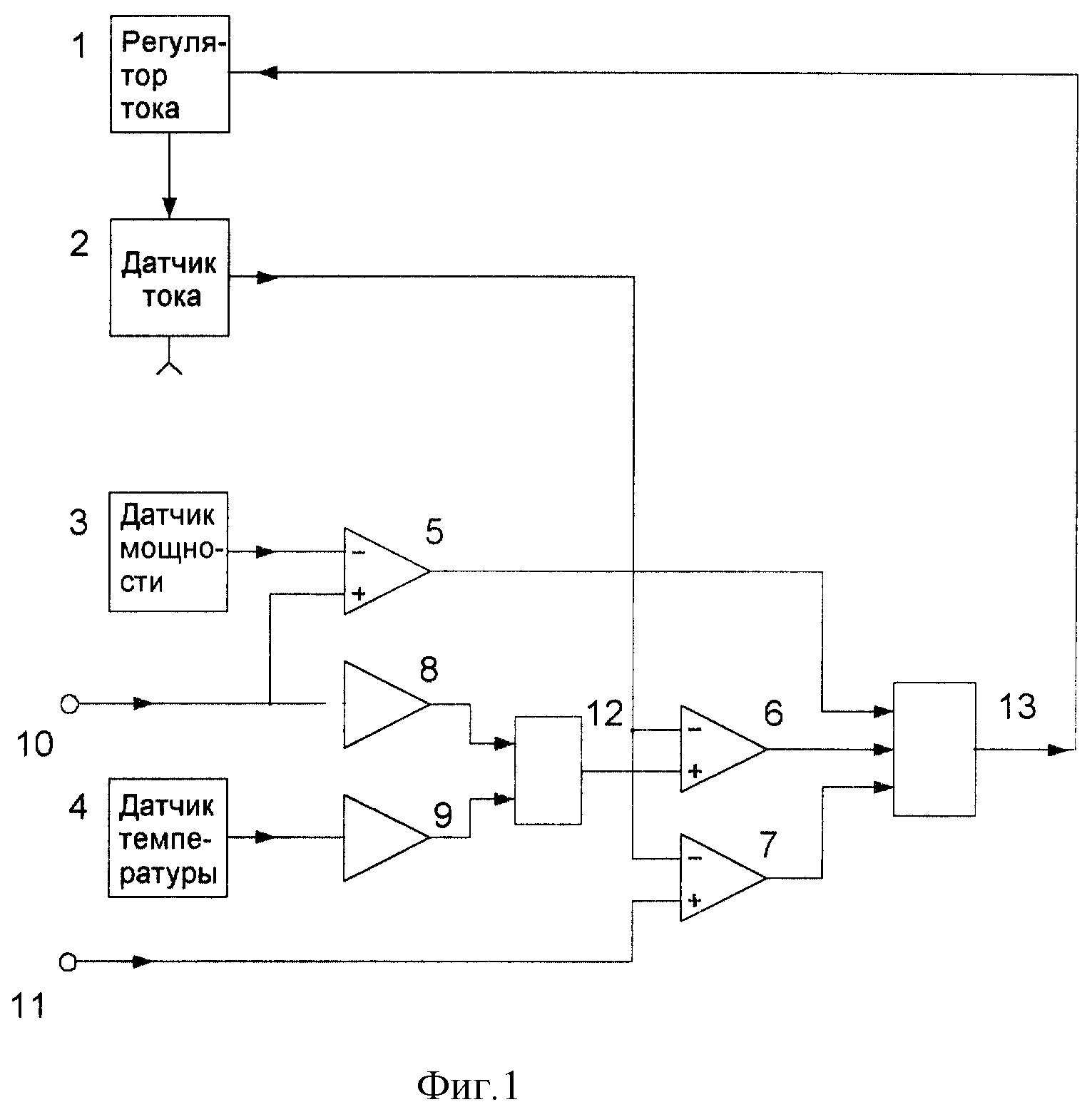
Изобретение относится к оптоэлектронике. Предложенный драйвер содержит регулятор тока накачки полупроводникового лазера, датчик тока, датчик мощности прямого излучения лазера, датчик температуры лазера, дифференциальные, линейный и экспоненциальный, усилители, сумматор, дискриминатор и входы для управляющего напряжения и для сигнала уставки максимального тока. Результаты сравнений сигналов от перечисленных устройств через дискриминатор минимального сигнала подаются на вход управления регулятора тока. Образуются цепи обратной связи; по току накачки лазера, по мощности прямого излучения лазера и по сигналу уставки максимального тока. Работает та цепь обратной связи, которая создает на входе дискриминатора минимальный сигнал. Также устройство содержит вариант аналоговой реализации драйвера и вариант реализации регулятора тока, дополнительно увеличивающий надежность источника когерентного излучения, использующего предлагаемый драйвер. В результате устраняется возможность превышения лазером заданного уровня мощности, устраняется возможность отключения лазера раньше времени, увеличивается степень защиты лазера. 2 з.п. ф-лы, 4 ил.
|