|
На данной странице представлена ознакомительная часть выбранного Вами патента
Для получения более подробной информации о патенте (полное описание, формула изобретения и т.д.) Вам необходимо сделать заказ. Нажмите на «Корзину»
| ГАЗОВЫЙ ЛАЗЕР |  |
Номер публикации патента: 2173923 |  |
| Редакция МПК: | 7 | | Основные коды МПК: | H01S003/22 | | Аналоги изобретения: | RU 206813 C1, 20.10.1996. US 3935547 A, 27.01.1976. US 4509176 A, 02.04.1985. RU 2095903 C1, 10.11.1997. |
| Имя заявителя: | Центр физического приборостроения ИОФ РАН | | Изобретатели: | Атежев В.В. Вартапетов С.К. Жигалкин А.К. | | Патентообладатели: | Центр физического приборостроения ИОФ РАН |
Реферат |  |
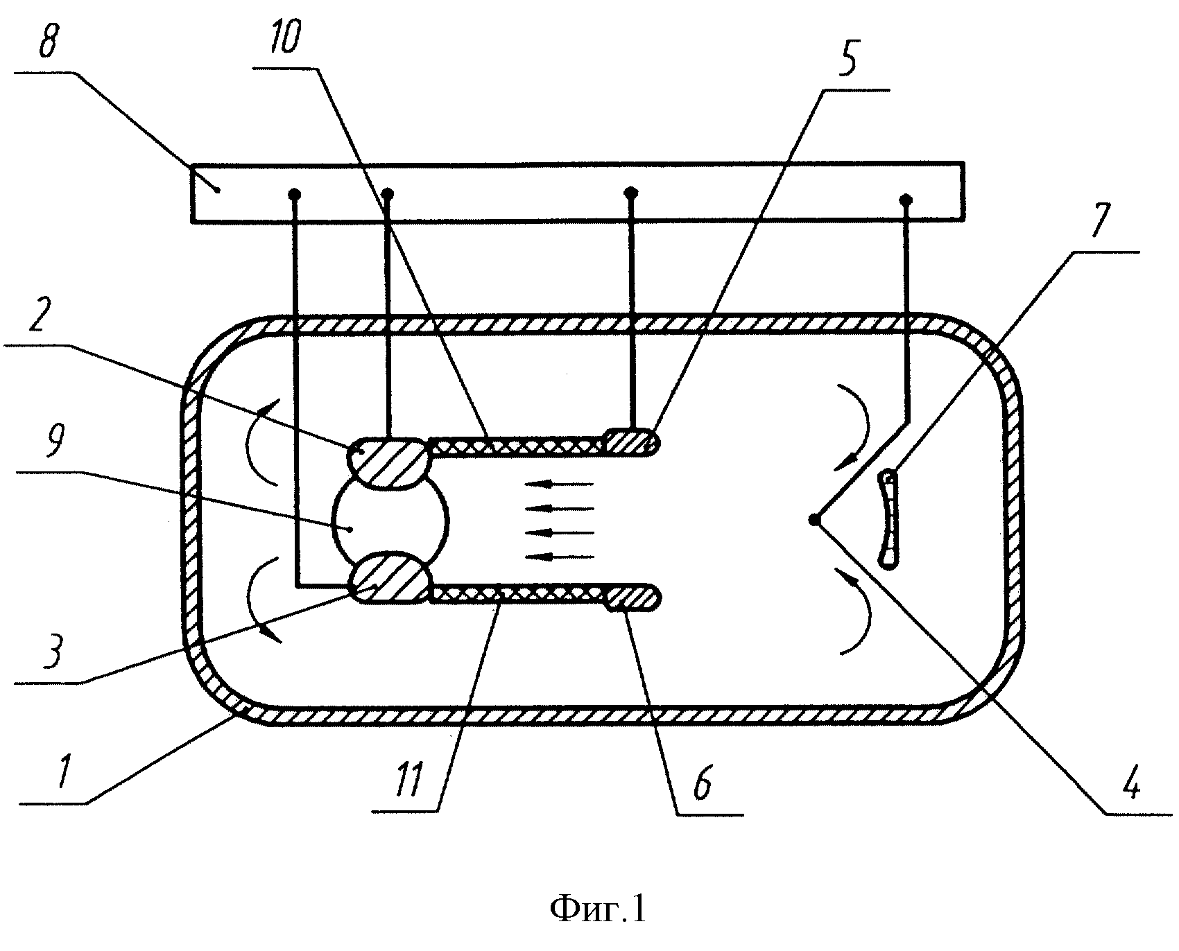
Изобретение относится к лазерной технике и может быть использовано в газовых лазерах ТЕ-типа, таких как азотные, CO2, а также эксимерные лазеры. Газовый лазер содержит корпус, основные разрядные электроды, систему прокачки газа на основе коронного разряда, формирующий электрическое поле элемент. Технический результат изобретения: создание компактного газового лазера с эффективной системой прокачки с очисткой газа от пылевых частиц. 5 з.п. ф-лы, 4 ил.
|