Промышленная Сибирь Ярмарка Сибири Промышленность СФО Электронные торги НОУ-ХАУ Электронные магазины Карта сайта
 
 

Поиск патентов

Как искать?
Реферат
Название
Публикация
Регистрационный номер
Имя заявителя
Имя изобретателя
Имя патентообладателя

    





Оформить заказ и задать интересующие Вас вопросы Вы можете напрямую c 6-00 до 14-30 по московскому времени кроме сб, вс. whatsapp 8-950-950-9888

На данной странице представлена ознакомительная часть выбранного Вами патента

Для получения более подробной информации о патенте (полное описание, формула изобретения и т.д.) Вам необходимо сделать заказ. Нажмите на «Корзину»


ТЕРМОСТОЙКАЯ ГЕРМЕТИЧНАЯ ВИЛКА И СПОСОБ ЕЕ МОНТАЖА

Номер публикации патента: 2461104

Вид документа: C2 
Страна публикации: RU 
Рег. номер заявки: 2010151261/07 
  Сделать заказПолучить полное описание патента

Редакция МПК: 
Основные коды МПК: H01R013/40    
Аналоги изобретения: RU 2231878 С2, 27.01.2004. SU 1693670 A1, 23.11.1991. US 3685005 A, 15.08.1972. US 3370874 A, 27.02.1968. 

Имя заявителя: Российская Федерация, от имени которой выступает государственный заказчик - Государственная корпорация по атомной энергии "Росатом" - Госкорпорация "Росатом" (RU),
Федеральное государственное унитарное предприятие "Российский федеральный ядерный центр - Всероссийский научно-исследовательский институт технической физики имени академика Е.И. Забабахина" (ФГУП "РФЯЦ-ВНИИТФ им. академ. Е.И. Забабахина") (RU) 
Изобретатели: Сорокин Александр Николаевич (RU)
Собко Сергей Аркадьевич (RU)
Лежнев Дмитрий Николаевич (RU)
Куликов Владимир Александрович (RU) 
Патентообладатели: Российская Федерация, от имени которой выступает государственный заказчик - Государственная корпорация по атомной энергии "Росатом" - Госкорпорация "Росатом" (RU)
Федеральное государственное унитарное предприятие "Российский федеральный ядерный центр - Всероссийский научно-исследовательский институт технической физики имени академика Е.И. Забабахина" (ФГУП "РФЯЦ-ВНИИТФ им. академ. Е.И. Забабахина") (RU) 

Реферат


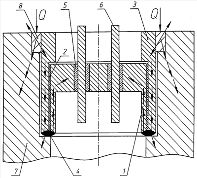
Вилка предназначена для герметичного электрического соединения при повышенных температурах. Корпус вилки состоит из внутренней (1) и внешней (3) частей, которые неразъемно соединены между собой и изолированы друг от друга теплоизолирующим слоем (2). В корпусе жестко закреплены стеклоприпоем (5) контактные штыри (6). Теплоизолирующий слой (2) прикрепляют к внешней поверхности внутренней части корпуса (1), затем внутри внешней части (3) корпуса размещают внутреннюю часть (1) корпуса с теплоизолирующим слоем (2). Затем неразъемно скрепляют внутреннюю (1) и внешнюю (3) части корпуса, закрепляют внутри корпуса контактные штыри (6). Внешнюю часть (3) корпуса устанавливают в объекте использования (7), нагревают развернутым в кольцо электронным лучом и неразъемно фиксируют. Технический результат - придание демпфирующих свойств корпусу вилки, уменьшение ее габаритных размеров, а также сохранение целостности стеклоспаев в процессе соединения вилки с объектом использования, 2 н. и 5 з.п. ф-лы, 1 ил.

Дирекция сайта "Промышленная Сибирь"
Россия, г.Омск, ул.Учебная, 199-Б, к.408А
Сайт открыт 01.11.2000
© 2000-2018 Промышленная Сибирь
Разработка дизайна сайта:
Дизайн-студия "RayStudio"