|
На данной странице представлена ознакомительная часть выбранного Вами патента
Для получения более подробной информации о патенте (полное описание, формула изобретения и т.д.) Вам необходимо сделать заказ. Нажмите на «Корзину»
| АНТЕННА |  |
Номер публикации патента: 2167475 |  |
| Редакция МПК: | 7 | | Основные коды МПК: | H01Q021/30 | | Аналоги изобретения: | US 5644321 A, 01.07.1997. RU 7770 U1, 17.12.1999. GB 1180866 A, 17.05.1968. FR 2523772 А1, 22.03.1982. FR 2545279 А1, 27.04.1983. |
| Имя заявителя: | Харченко Константин Павлович | | Изобретатели: | Харченко К.П. | | Патентообладатели: | Харченко Константин Павлович |
Реферат |  |
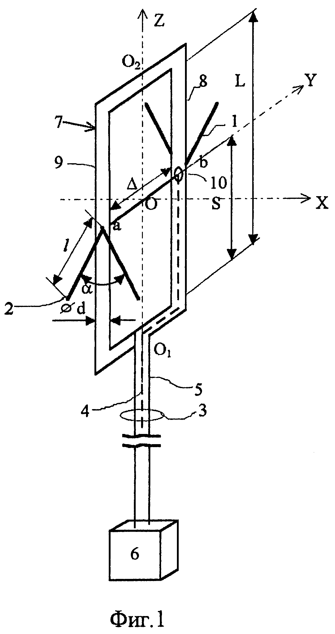
Изобретение относится к антенно-фидерным устройствам с симметричным типом возбуждения и может быть использовано преимущественно в качестве антенны вертикальной линейной поляризации с круговой диаграммой направленности (ДН) в горизонтальной плоскости. Техническим результатом является устранение антенного эффекта фидерной линии; обеспечение осевой симметрии диаграммы направленности в Е и Н плоскостях поляризации, ориентация главных максимумов излучения (приема в горизонтальной плоскости); увеличение широкополосности. Антенна содержит, по меньшей мере, два V-образных элемента, каждый из которых выполнен симметричным относительно своей оси и направлен вершиной друг к другу встречно. Каждый из отрезков проводников фидерной линии с одной стороны подсоединен к одному и V-образных элементов в его вершине. Фидерная линия выполнена в виде коаксиала. Введен отрезок фидерной линии; выполненный из двух трубок, диаметром d и расположенных параллельно друг другу с зазором &Dgr; между ними и длиной λ/2, где λ - длина волны, а d < &Dgr; < 3d. Концы двух трубок короткозамкнуты между собой с образованием рамки. В промежутке между короткозамкнутыми концами двух трубок в стенке одной из них выполнено отверстие. Конец коаксиально проложен через место короткого замыкания трубок в полости трубки до отверстия. Наружная оболочка коаксиала подсоединена к трубке на периметре отверстия. Центральный проводник коаксиала выведен из отверстия и подсоединен к стенке другой трубки напротив центра отверстия. V-образные элементы вершинами подсоединены к трубкам рамки в местах подсоединения коаксиала и расположены в параллельных плоскостях. Оси V-образных элементов параллельны между собой и параллельны трубкам. 6 з.п.ф-лы, 5 ил.
|