Промышленная Сибирь Ярмарка Сибири Промышленность СФО Электронные торги НОУ-ХАУ Электронные магазины Карта сайта
 
 

Поиск патентов

Как искать?
Реферат
Название
Публикация
Регистрационный номер
Имя заявителя
Имя изобретателя
Имя патентообладателя

    





Оформить заказ и задать интересующие Вас вопросы Вы можете напрямую c 6-00 до 14-30 по московскому времени кроме сб, вс. whatsapp 8-950-950-9888

На данной странице представлена ознакомительная часть выбранного Вами патента

Для получения более подробной информации о патенте (полное описание, формула изобретения и т.д.) Вам необходимо сделать заказ. Нажмите на «Корзину»


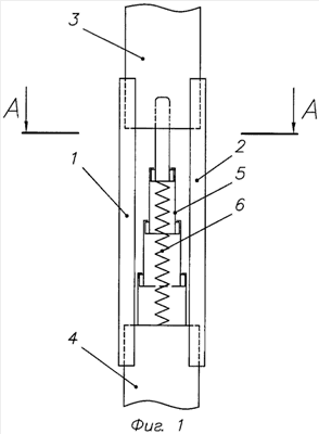
ШАРНИРНЫЙ УЗЕЛ СКЛАДНОГО РЕФЛЕКТОРА КОСМИЧЕСКОЙ АНТЕННЫ

Номер публикации патента: 2414028

Вид документа: C1 
Страна публикации: RU 
Рег. номер заявки: 2010111589/07 
  Сделать заказПолучить полное описание патента

Редакция МПК: 
Основные коды МПК: H01Q015/20    
Аналоги изобретения: RU 2291528 C1, 10.01.2007. RU 2266592 С1, 20.12.2005. RU 2337438 C1, 27.10.2007. SU 1420628 A1, 30.08.1988. JP 2004276646 A, 07.10.2004. CA 2311013 C, 12.11.2002. JP 2220803 A, 13.09.1990. JP 1278638 A, 09.11.1989. 

Имя заявителя: Государственное образовательное учреждение высшего профессионального образования Марийский государственный технический университет (RU) 
Изобретатели: Куликов Юрий Александрович (RU)
Кудрявцев Игорь Аркадьевич (RU) 
Патентообладатели: Государственное образовательное учреждение высшего профессионального образования Марийский государственный технический университет (RU) 

Реферат


Изобретение относится к антенной технике, в частности, к шарнирным узлам складных рефлекторов космических антенн. Технический результат заключается в повышении жесткости шарнирного узла в раскрытом состоянии и надежности его при срабатывании. Сущность изобретения состоит в том, что шарнирный узел представляет собой жестко связанные со стержневыми элементами каркаса рефлектора антенны две противоположно расположенные и охватывающие подпружиненный телескопический стержень упругие профилированные ленты, приобретающие цилиндрический профиль в развернутом состоянии. 3 ил.

Дирекция сайта "Промышленная Сибирь"
Россия, г.Омск, ул.Учебная, 199-Б, к.408А
Сайт открыт 01.11.2000
© 2000-2018 Промышленная Сибирь
Разработка дизайна сайта:
Дизайн-студия "RayStudio"