Промышленная Сибирь Ярмарка Сибири Промышленность СФО Электронные торги НОУ-ХАУ Электронные магазины Карта сайта
 
 

Поиск патентов

Как искать?
Реферат
Название
Публикация
Регистрационный номер
Имя заявителя
Имя изобретателя
Имя патентообладателя

    





Оформить заказ и задать интересующие Вас вопросы Вы можете напрямую c 6-00 до 14-30 по московскому времени кроме сб, вс. whatsapp 8-950-950-9888

На данной странице представлена ознакомительная часть выбранного Вами патента

Для получения более подробной информации о патенте (полное описание, формула изобретения и т.д.) Вам необходимо сделать заказ. Нажмите на «Корзину»


МОБИЛЬНАЯ ШУНТОВАЯ РАДИОПЕЛЕНГАЦИОННАЯ АНТЕННА

Номер публикации патента: 2368043

Вид документа: C1 
Страна публикации: RU 
Рег. номер заявки: 2008101158/09 
  Сделать заказПолучить полное описание патента

Редакция МПК: 
Основные коды МПК: H01Q009/28    
Аналоги изобретения: RU 2287878 C1, 20.11.2006. RU 95105677 A1, 20.01.1997. US 4851859 A, 25.07.1989. ЕР 0229552 A1, 22.07.1982. GB 1338753 A1, 28.11.1973. 

Имя заявителя: ООО "Нивелир и Ко" (RU) 
Изобретатели: Соляник Сергей Павлович (RU) 
Патентообладатели: ООО "Нивелир и Ко" (RU) 

Реферат


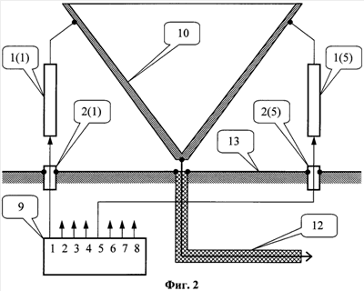
Изобретение предназначено для использования в пеленгационных амплитудно-фазометрических системах с дискретным электронным вращением характеристики направленности антенны, предназначенных для эксплуатации на мобильных средствах передвижения. Техническим результатом является расширение области применения за счет обеспечения возможности использования полученного устройства непосредственно на поверхности подвижного носителя. Технический результат достигается за счет того, что использован широкополосный несимметричный вибратор, расположенный над проводящей поверхностью корпуса и дополненный управляемыми шунтами, последовательно соединяющими различные участки вибратора с подстилающей поверхностью. 2 ил.

Дирекция сайта "Промышленная Сибирь"
Россия, г.Омск, ул.Учебная, 199-Б, к.408А
Сайт открыт 01.11.2000
© 2000-2018 Промышленная Сибирь
Разработка дизайна сайта:
Дизайн-студия "RayStudio"