Промышленная Сибирь Ярмарка Сибири Промышленность СФО Электронные торги НОУ-ХАУ Электронные магазины Карта сайта
 
 

Поиск патентов

Как искать?
Реферат
Название
Публикация
Регистрационный номер
Имя заявителя
Имя изобретателя
Имя патентообладателя

    





Оформить заказ и задать интересующие Вас вопросы Вы можете напрямую c 6-00 до 14-30 по московскому времени кроме сб, вс. whatsapp 8-950-950-9888

На данной странице представлена ознакомительная часть выбранного Вами патента

Для получения более подробной информации о патенте (полное описание, формула изобретения и т.д.) Вам необходимо сделать заказ. Нажмите на «Корзину»


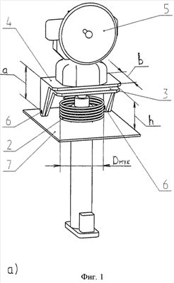
ПОДЪЕМНО - МАЧТОВОЕ УСТРОЙСТВО МОБИЛЬНОЙ АНТЕННОЙ УСТАНОВКИ

Номер публикации патента: 2419925

Вид документа: C1 
Страна публикации: RU 
Рег. номер заявки: 2010122443/07 
  Сделать заказПолучить полное описание патента

Редакция МПК: 
Основные коды МПК: H01Q001/08    
Аналоги изобретения: RU 2373618 C1, 29.11.2009. RU 2265262 С1, 27.11.2006. RU 87267 U1, 27.09.2009. JP 0003258074 В2, 18.02.2002. WO 1999045608 А1, 10.09.1999. 

Имя заявителя: Открытое акционерное общество "Специальное конструкторское бюро приборостроения и автоматики" (RU) 
Изобретатели: Орленко Владимир Васильевич (RU)
Карпенко Андрей Борисович (RU)
Леонов Николай Александрович (RU) 
Патентообладатели: Открытое акционерное общество "Специальное конструкторское бюро приборостроения и автоматики" (RU) 

Реферат


Изобретение относится к антенной технике, а именно к подъемно-мачтовым устройствам мобильных антенных установок. Целью изобретения является повышение мобильности ПМУ за счет оптимизации компоновки устройства в транспортном положении путем выбора определенных конструктивных соотношений. В подъемно-мачтовом устройстве, состоящем из подъемной телескопической мачты, механизма укладки кабеля, выполненного по типу винтовой пружины, неподвижной платформы, жестко связанной с конечной ступенью подъемной мачты, и поворотной платформы, связанной с неподвижной платформой осями вращения, согласно изобретению механизм укладки кабеля расположен по продольной оси подъемной мачты в пределах транспортного габарита, подвижная и поворотная платформы выполнены П-образными, поворотная платформа в направлении ее поворота относительно неподвижной платформы имеет ширину не более величины транспортного габарита, а оси вращения выполнены на боковых стойках платформ, расположенных параллельно продольной оси подъемной мачты со смещениями, определяемыми по определенным зависимостям как по продольной оси подъемной мачты, так и по поперечной оси подъемной мачты. 1 з.п. ф-лы, 2 ил.

Дирекция сайта "Промышленная Сибирь"
Россия, г.Омск, ул.Учебная, 199-Б, к.408А
Сайт открыт 01.11.2000
© 2000-2018 Промышленная Сибирь
Разработка дизайна сайта:
Дизайн-студия "RayStudio"