Промышленная Сибирь Ярмарка Сибири Промышленность СФО Электронные торги НОУ-ХАУ Электронные магазины Карта сайта
 
 

Поиск патентов

Как искать?
Реферат
Название
Публикация
Регистрационный номер
Имя заявителя
Имя изобретателя
Имя патентообладателя

    





Оформить заказ и задать интересующие Вас вопросы Вы можете напрямую c 6-00 до 14-30 по московскому времени кроме сб, вс. whatsapp 8-950-950-9888

На данной странице представлена ознакомительная часть выбранного Вами патента

Для получения более подробной информации о патенте (полное описание, формула изобретения и т.д.) Вам необходимо сделать заказ. Нажмите на «Корзину»


ЭЛЕМЕНТ ФАЗИРОВАННОЙ АНТЕННОЙ РЕШЕТКИ

Номер публикации патента: 2439759

Вид документа: C1 
Страна публикации: RU 
Рег. номер заявки: 2010146170/07 
  Сделать заказПолучить полное описание патента

Редакция МПК: 
Основные коды МПК: H01Q021/00   H01P001/19    
Аналоги изобретения: RU 2325741 C1, 27.05.2008. RU 2184410 C1, 27.06.2002. RU 2237324 C1, 27.09.2004. RU 62741 U1, 27.04.2007. RU 2325741 C1, 27.05.2008. US 3753160 A, 14.08.1973. US 3938158 A, 10.02.1976. EP 0325340 A3, 22.08.1990. 

Имя заявителя: Общество с ограниченной ответственностью "Научно-производственное объединение "Завод Магнетон" (RU) 
Изобретатели: Фирсенков Анатолий Иванович (RU)
Крехтунов Владимир Михайлович (RU)
Гуськов Антон Борисович (RU)
Павлов Геннадий Дмитриевич (RU)
Русов Юрий Сергеевич (RU) 
Патентообладатели: Общество с ограниченной ответственностью "Научно-производственное объединение "Завод Магнетон" (RU) 

Реферат


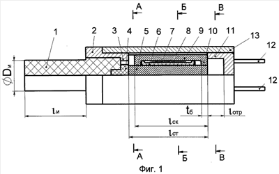
Изобретение относится к области радиотехники СВЧ и КВЧ диапазонов. Элемент фазированной антенной решетки (ФАР), работающий на волнах, поляризованных по кругу, содержит диэлектрический излучатель (1), волновод (2) излучателя, согласующий волновод (3), волноводный ферритовый фазовращатель (ВФФВ) фарадеевского типа с магнитной памятью, отражатель (11) и корпус (13). Фазовращатель с целью повышения быстродействия и снижения энергии управления выполнен на основе ферритового стержня (5) (ФС) с квадратной формой поперечного сечения, не содержащего токопроводящего покрытия боковой поверхности, размещенного вместе с каркасом (6) и обмоткой (7) намагничивания и магнитопроводом внутри волновода, функцию которого выполняет корпус (13) элемента ФАР. Для предотвращения роста СВЧ-потерь вследствие возбуждения в ВФФВ волн высших типов магнитопровод выполнен в виде 12 ферритовых скоб (8) П-образной формы, расположенных определенным образом по 3 скобы на каждой грани ФС (5). Отражатель (11) ВФФВ выполнен в виде закороченного на одном конце отрезка запредельного волновода, примыкающего другим концом к плоскости торца ФС (5). Технический результат заключается в создании высокотехнологичного, малогабаритного элемента ОФАР с малыми потерями, высоким быстродействием и низкой энергией управления, простого в изготовлении и сборке, прочного и устойчивого к внешним климатическим и механическим воздействиям. 5 з.п.ф-лы, 5 ил.

Дирекция сайта "Промышленная Сибирь"
Россия, г.Омск, ул.Учебная, 199-Б, к.408А
Сайт открыт 01.11.2000
© 2000-2018 Промышленная Сибирь
Разработка дизайна сайта:
Дизайн-студия "RayStudio"