|
На данной странице представлена ознакомительная часть выбранного Вами патента
Для получения более подробной информации о патенте (полное описание, формула изобретения и т.д.) Вам необходимо сделать заказ. Нажмите на «Корзину»
| УСТРОЙСТВО ДЛЯ ВОЗБУЖДЕНИЯ ВОЛН С ЗАДАННОЙ ЭЛЛИПТИЧНОСТЬЮ ПОЛЯРИЗАЦИИ (ВАРИАНТЫ) |  |
Номер публикации патента: 2182390 |  |
| Редакция МПК: | 7 | | Основные коды МПК: | H01P001/163 H05B006/64 | | Аналоги изобретения: | US 5227698 A, 13.07.1993. RU 2014761 C1, 15.06.1994. RU 2145155 C1, 27.01.2000. SU 232341 A, 07.05.1969. SU 370685 A, 16.05.1973. US 3646481 A, 29.02.1972. DE 3241890 A1, 17.05.1984. US 4414516 A, 08.11.1983. DE 3641388 A1, 09.06.1988. |
| Имя заявителя: | Бродский Юрий Яковлевич (RU) | | Изобретатели: | Бродский Ю.Я. (RU) Ковалев Н.Ф. (RU) Ким Ы.С. (RU) КИМ Хан Юунг (KR) ЛИ Йонг Мин (KR) | | Патентообладатели: | ЛДжи Электроникс, Инк. (KR) | | Патентный поверенный: | Лугина Берта Давидовна |
Реферат |  |
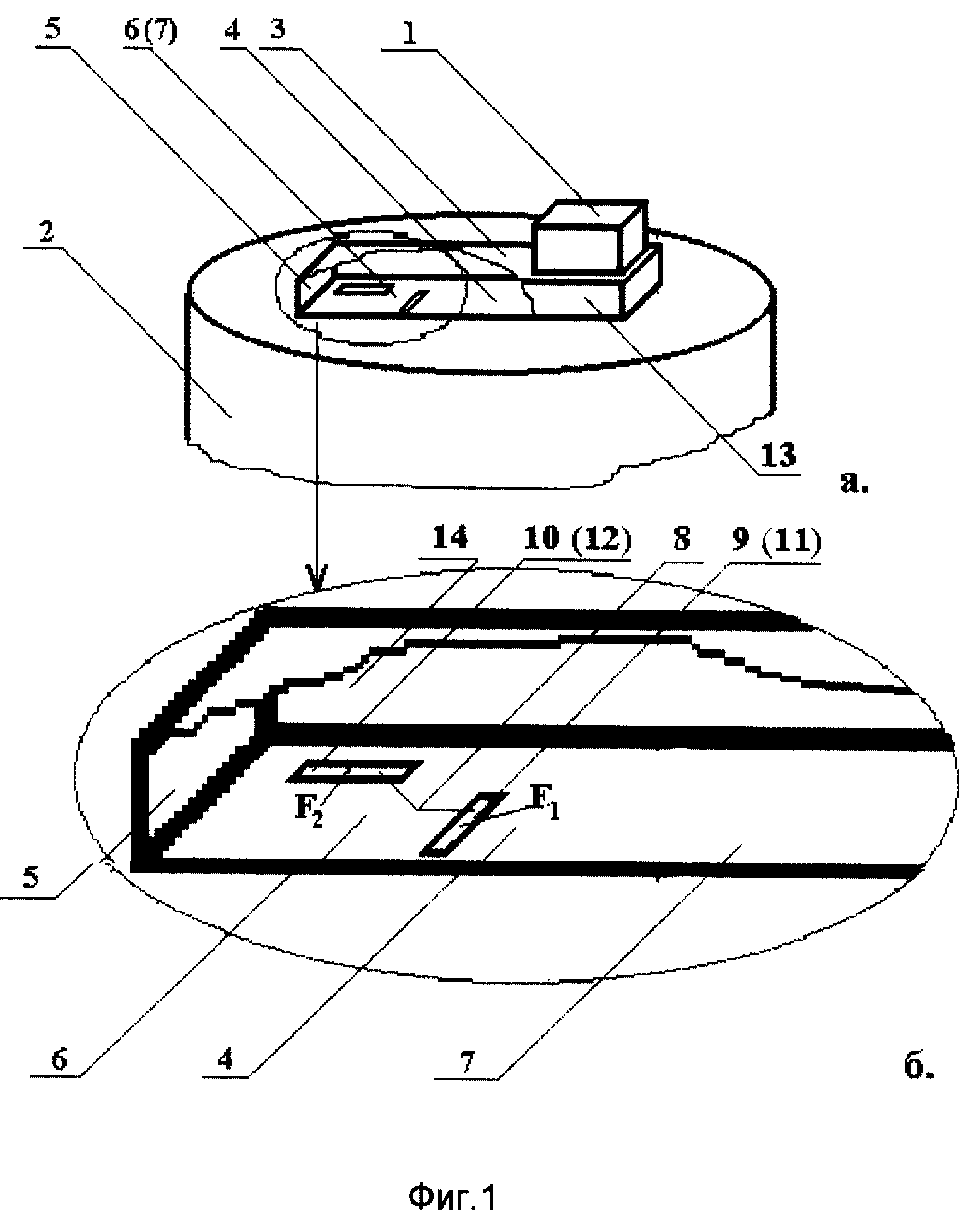
Разработано устройство для возбуждения волн с заданной эллиптичностью поляризации, характеризующееся высокой эффективностью возбуждения эллиптически и циркулярно поляризованных волн при заданном общем КПД, а также технологичностью конструкции. Устройство может быть использовано в устройствах для нагрева диэлектриков с помощью высокочастотного электромагнитного поля, в частности в бытовых микроволновых печах и в плазменных источниках оптического излучения. В разработанном устройстве излучатель волн с заданной эллиптичностью поляризации размещен в части широкой стенки одномодового прямоугольного волновода, ограничивающей область, смежную с СВЧ камерой, и выполнен в виде двух пространственно разнесенных парциальных излучателей, ориентированных с возможностью излучения волн, поляризованных взаимно ортогонально. Фазовые центры парциальных излучателей расположены в пучностях распределений взаимно ортогональных поверхностных токов вблизи короткозамыкающей стенки волновода на разных расстояниях от нее, а электрические длины парциальных излучателей приблизительно равны их резонансным длинам. В варианте устройства, реализующем возбуждение циркулярно поляризованных волн, электрическая длина парциального излучателя, центр излучения которого расположен на большем расстоянии от короткозамыкающей стенки, несколько меньше его резонансной длины, а электрическая длина парциального излучателя, центр излучения которого расположен на меньшем расстоянии от короткозамыкающей стенки, несколько превышает его резонансную длину. Необходимое соотношение интенсивностей волн, поляризованных взаимно ортогонально так же, как и необходимый фазовый сдвиг между ними, для получения заданной эллиптичности поляризации возбуждаемых в СВЧ камере волн обеспечивается путем небольшого изменения соотношения электрических длин парциальных излучателей совместно с небольшим изменением их местоположений, что является техническим результатом изобретения. 2 с. и 25 з.п.ф-лы, 7 ил.
|