Промышленная Сибирь Ярмарка Сибири Промышленность СФО Электронные торги НОУ-ХАУ Электронные магазины Карта сайта
 
 

Поиск патентов

Как искать?
Реферат
Название
Публикация
Регистрационный номер
Имя заявителя
Имя изобретателя
Имя патентообладателя

    





Оформить заказ и задать интересующие Вас вопросы Вы можете напрямую c 6-00 до 14-30 по московскому времени кроме сб, вс. whatsapp 8-950-950-9888

На данной странице представлена ознакомительная часть выбранного Вами патента

Для получения более подробной информации о патенте (полное описание, формула изобретения и т.д.) Вам необходимо сделать заказ. Нажмите на «Корзину»


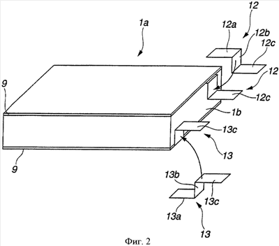
ЭЛЕКТРИЧЕСКИЙ ДВУХСЛОЙНЫЙ КОНДЕНСАТОР

Номер публикации патента: 2439732

Вид документа: C2 
Страна публикации: RU 
Рег. номер заявки: 2010108644/07 
  Сделать заказПолучить полное описание патента

Редакция МПК: 
Основные коды МПК: H01G009/155   H01G009/016   H01M002/20    
Аналоги изобретения: JP 2005277346 A, 06.10.2005. JP 2002313677 A, 25.10.2002. RU 2038657 C1, 27.06.1995. RU 2095873 C1, 10.11.1997. JP 2003217985 A, 31.07.2003. 

Имя заявителя: Мейденша Корпорейшн (JP) 
Изобретатели: ВАТАНАБЕ Хироюки (JP)
ХОРИКОШИ Рон (JP) 
Патентообладатели: Мейденша Корпорейшн (JP) 
Приоритетные данные: 06.09.2007 JP 2007-231269 

Реферат


Изобретение относится к электрическим двухслойным конденсаторам. В электрическом двухслойном конденсаторе рабочий отсек (1а), содержащий многослойные ячейки, покрыт для их защиты алюминиевой многослойной пленкой. Каждый из пары токоприемных выводов (12 и 13), выполненных на двух концевых частях рабочего отсека (1а) конденсатора, содержит первые отогнутые части (12b и 13b), отгибаемые вдоль боковой поверхности (1b) рабочего отсека (1а), и вторые отогнутые части (12с и 13с), отгибаемые в наружном направлении в середине боковой поверхности (1b) рабочего отсека (1а). Обе вторые отогнутые части (12с и 13с) парных токоприемных выводов (12 и 13) покрыты в общей плоскости алюминиевой многослойной пленкой, а концевые части парных токоприемных выводов (12 и 13) выступают наружу из указанной пленки, при этом корневые части каждой из вторых отогнутых частей снабжены пластмассовыми корпусами, которые надеты на алюминиевую многослойную пленку. Техническим результатом является повышенная надежность благодаря повышению характеристик герметичности и прочности токоприемных выводных частей. 2 з.п. ф-лы, 10 ил.

Дирекция сайта "Промышленная Сибирь"
Россия, г.Омск, ул.Учебная, 199-Б, к.408А
Сайт открыт 01.11.2000
© 2000-2018 Промышленная Сибирь
Разработка дизайна сайта:
Дизайн-студия "RayStudio"