Промышленная Сибирь Ярмарка Сибири Промышленность СФО Электронные торги НОУ-ХАУ Электронные магазины Карта сайта
 
 

Поиск патентов

Как искать?
Реферат
Название
Публикация
Регистрационный номер
Имя заявителя
Имя изобретателя
Имя патентообладателя

    





Оформить заказ и задать интересующие Вас вопросы Вы можете напрямую c 6-00 до 14-30 по московскому времени кроме сб, вс. whatsapp 8-950-950-9888

На данной странице представлена ознакомительная часть выбранного Вами патента

Для получения более подробной информации о патенте (полное описание, формула изобретения и т.д.) Вам необходимо сделать заказ. Нажмите на «Корзину»


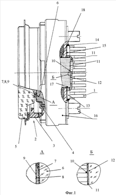
ФОТОЭЛЕКТРОННОЕ УСТРОЙСТВО

Номер публикации патента: 2472250

Вид документа: C1 
Страна публикации: RU 
Рег. номер заявки: 2011132928/07 
  Сделать заказПолучить полное описание патента

Редакция МПК: 
Основные коды МПК: H01L031/048   H01J031/50    
Аналоги изобретения: US 2010/0200738 A1, 12.08.2010. SU 1342338 A1, 27.07.1996. SU 1609365 A1, 20.08.1995. RU 2061271 C1, 27.05.1996. SU 945922 A, 23.07.1982. US 4507519 A, 26.03.1985. US 5742115 A, 21.04.1998. 

Имя заявителя: Общество с ограниченной ответственностью "МЭЛЗ ФЭУ" (RU) 
Изобретатели: Савин Юрий Викторович (RU)
Медведев Александр Владимирович (RU)
Куклев Сергей Владимирович (RU)
Соколов Дмитрий Сергеевич (RU) 
Патентообладатели: Общество с ограниченной ответственностью "МЭЛЗ ФЭУ" (RU) 

Реферат


Изобретение относится к области электронно-оптической и полупроводниковой техники и может быть использовано при изготовлении оптико-электронных наблюдательных и регистрирующих приборов, предназначенных для эксплуатации в условиях естественных освещенностей (от сумерек до глубокой ночи). Технический результат - улучшение технических характеристик устройства: контрастной чувствительности и разрешающей способности с обеспечением одинакового разрешения по всему полю зрения. Достигается тем, что фотоэлектронное устройство представляет собой электронно-оптический преобразователь (ЭОП), содержащий установленные в вакуумном объеме металлокерамического корпуса фотокатод, нанесенный на выходную поверхность входного окна устройства, и волоконно-оптическую пластину (ВОП) с катодолюминесцентным экраном на ее входной поверхности, светопропускание которого с алюминиевым и поглощающим свет покрытием, имеющим коэффициент поглощения не менее 0,97, составляет не более 0,01%, и состыкованный с фоточувствительным прибором с зарядовой связью (ФПЗС) путем совмещения через слой иммерсионной жидкости площадки чувствительного элемента ФПЗС с площадкой, сформированной на выходной поверхности ВОП ЭОП, при этом расстояние между поверхностью площадки чувствительного элемента ФПЗС и поверхностью площадки, сформированной на выходной поверхности ВОП, не должно превышать 1 мкм при показателе преломления иммерсии около 1,5; наружная поверхность ВОП за пределами вакуумного блока, за исключением площадки под площадку чувствительного элемента ФПЗС, покрыта поглощающим свет покрытием с коэффициентом поглощения не менее 0,97; металлокерамический корпус ЭПО жестко связан посредством крепежного устройства с корпусом ФПЗС, который установлен в пазе крепежного устройства и соединен с ним с помощью компаунда; свободное пространство между наружной поверхностью ВОП, стенками корпуса ФПЗС и корпуса крепежного устройства заполнено компаундом со светопропусканием не более 0,03 в направлении выходной поверхности ВОП; а расстояние между нижней поверхностью паза для ФПЗС в крепежном устройстве и корпусом ФПЗС на 0,2÷0,5 мм больше расстояния между поверхностью площадки чувствительного элемента ФПЗС и поверхностью площадки, сформированной на ВОП. 2 з.п. ф-лы, 1 ил.

Дирекция сайта "Промышленная Сибирь"
Россия, г.Омск, ул.Учебная, 199-Б, к.408А
Сайт открыт 01.11.2000
© 2000-2018 Промышленная Сибирь
Разработка дизайна сайта:
Дизайн-студия "RayStudio"