Промышленная Сибирь Ярмарка Сибири Промышленность СФО Электронные торги НОУ-ХАУ Электронные магазины Карта сайта
 
 

Поиск патентов

Как искать?
Реферат
Название
Публикация
Регистрационный номер
Имя заявителя
Имя изобретателя
Имя патентообладателя

    





Оформить заказ и задать интересующие Вас вопросы Вы можете напрямую c 6-00 до 14-30 по московскому времени кроме сб, вс. whatsapp 8-950-950-9888

На данной странице представлена ознакомительная часть выбранного Вами патента

Для получения более подробной информации о патенте (полное описание, формула изобретения и т.д.) Вам необходимо сделать заказ. Нажмите на «Корзину»


ПОЛУПРОВОДНИКОВЫЙ ФОТОПРЕОБРАЗОВАТЕЛЬ И СПОСОБ ЕГО ИЗГОТОВЛЕНИЯ

Номер публикации патента: 2377695

Вид документа: C1 
Страна публикации: RU 
Рег. номер заявки: 2008131147/28 
  Сделать заказПолучить полное описание патента

Редакция МПК: 
Основные коды МПК: H01L031/042   H01L031/18    
Аналоги изобретения: RU 2127472 C1, 10.03.1999. RU 2127471 C1, 10.03.1999. RU 2127009 C1, 17.02.1999. US 4516314 A, 14.05.1995. DE 2822694 A, 20.12.1979. US 3653971 A, 04.04.1972. 

Имя заявителя: Федеральное государственное унитарное предприятие "Всероссийский электротехнический институт им. В.И. Ленина" (ФГУП ВЭИ) (RU) 
Изобретатели: Мурашев Виктор Николаевич (RU)
Симакин Виктор Васильевич (RU)
Тюхов Игорь Иванович (RU)
Лагов Петр Борисович (RU)
Стребков Дмитрий Семенович (RU)
Котов Андрей Викторович (RU) 
Патентообладатели: Федеральное государственное унитарное предприятие "Всероссийский электротехнический институт им. В.И. Ленина" (ФГУП ВЭИ) (RU) 

Реферат


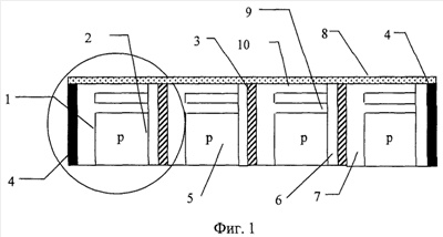
Изобретение относится к полупроводниковой технике, а именно к фотоэлектрическим преобразователям (ФП) для прямого преобразования солнечной энергии в электрическую энергию с помощью солнечных батарей. Область применения - возобновляемые источники энергии. Согласно изобретению в полупроводниковом ФП, состоящем из монокристаллических кремниевых пластин с вертикально расположенными р-n диффузионными переходами, соединенными между собой в единую горизонтальную конструкцию металлическими прокладками, с токовыводящими контактами, с, по меньшей мере, одной светоприемной поверхностью с инверсионным слоем и диэлектрическим просветляющим покрытием, в области р-типа проводимости, прилегающей к диффузионному р-n переходу, параллельно светоприемной поверхности расположена, по меньшей мере, одна нанокластерная область n-типа проводимости на расстоянии от инверсионного слоя, равном или меньшем сумме толщин областей пространственного заряда инверсионного слоя и нанокластерной области. Также предложен способ изготовления фотопреобразователя. Изобретение обеспечивает повышение КПД ФП путем увеличения времени жизни неравновесных носителей заряда при одновременном снижении стоимости технологии изготовления ФП за счет ее упрощения. 2 н.п. ф-лы, 4 ил.

Дирекция сайта "Промышленная Сибирь"
Россия, г.Омск, ул.Учебная, 199-Б, к.408А
Сайт открыт 01.11.2000
© 2000-2018 Промышленная Сибирь
Разработка дизайна сайта:
Дизайн-студия "RayStudio"