Промышленная Сибирь Ярмарка Сибири Промышленность СФО Электронные торги НОУ-ХАУ Электронные магазины Карта сайта
 
 

Поиск патентов

Как искать?
Реферат
Название
Публикация
Регистрационный номер
Имя заявителя
Имя изобретателя
Имя патентообладателя

    





Оформить заказ и задать интересующие Вас вопросы Вы можете напрямую c 6-00 до 14-30 по московскому времени кроме сб, вс. whatsapp 8-950-950-9888

На данной странице представлена ознакомительная часть выбранного Вами патента

Для получения более подробной информации о патенте (полное описание, формула изобретения и т.д.) Вам необходимо сделать заказ. Нажмите на «Корзину»


УСТРОЙСТВО ИНТЕГРАЛЬНОЙ СХЕМЫ И СПОСОБ ИЗГОТОВЛЕНИЯ УСТРОЙСТВА ИНТЕГРАЛЬНОЙ СХЕМЫ

Номер публикации патента: 2419179

Вид документа: C2 
Страна публикации: RU 
Рег. номер заявки: 2009127834/28 
  Сделать заказПолучить полное описание патента

Редакция МПК: 
Основные коды МПК: H01L025/03    
Аналоги изобретения: US 7109068 В2, 19.09.2006. US 6593644 В2, 15.07.2003. RU 2248538 С2, 20.03.2005. RU 2133523 C1, 20.07.1999. US 6221769 B1, 24.04.2001. 

Имя заявителя: ИНТЕЛ КОРПОРЕЙШН (US) 
Изобретатели: РИД Пол (US)
БЛЭК Брайан (US) 
Патентообладатели: ИНТЕЛ КОРПОРЕЙШН (US) 
Приоритетные данные: 20.12.2006 US 11/613,774 

Реферат


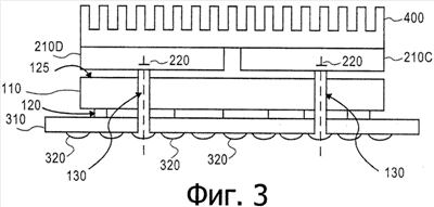
Изобретение относится к микроэлектронике, а именно к формированию пакета интегральных микросхем. Сущность изобретения: устройство интегральной схемы содержит первый кристалл с множеством продолжающихся через подложку переходных отверстий (ПОК), каждое из которых включает электропроводный материал, причем первый кристалл содержит площадь поверхности; и множество вторых кристаллов, каждый из которых содержит множество контактных точек, соединенных с электропроводным материалом ПОК первого кристалла, причем множество вторых кристаллов расположены на первом кристалле так, что они совместно составляют площадь поверхности, приблизительно равную или наиболее соответствующую площади поверхности первого кристалла. Предложен способ изготовления устройства интегральной схемы с множеством вторых кристаллов, размещаемых на первом кристалле. Изобретение обеспечивает укладку кристаллов микросхемы друг на друга для повышения рабочих характеристик без увеличения площади поверхности. 3 н. и 18 з.п. ф-лы, 8 ил.

Дирекция сайта "Промышленная Сибирь"
Россия, г.Омск, ул.Учебная, 199-Б, к.408А
Сайт открыт 01.11.2000
© 2000-2018 Промышленная Сибирь
Разработка дизайна сайта:
Дизайн-студия "RayStudio"