Промышленная Сибирь Ярмарка Сибири Промышленность СФО Электронные торги НОУ-ХАУ Электронные магазины Карта сайта
 
 

Поиск патентов

Как искать?
Реферат
Название
Публикация
Регистрационный номер
Имя заявителя
Имя изобретателя
Имя патентообладателя

    





Оформить заказ и задать интересующие Вас вопросы Вы можете напрямую c 6-00 до 14-30 по московскому времени кроме сб, вс. whatsapp 8-950-950-9888

На данной странице представлена ознакомительная часть выбранного Вами патента

Для получения более подробной информации о патенте (полное описание, формула изобретения и т.д.) Вам необходимо сделать заказ. Нажмите на «Корзину»


КАРКАСЫ ДЛЯ ДЕТАЛЕЙ ИЛИ СХЕМ

Номер публикации патента: 2434313

Вид документа: C2 
Страна публикации: RU 
Рег. номер заявки: 2008141611/28 
  Сделать заказПолучить полное описание патента

Редакция МПК: 
Основные коды МПК: H01L023/373    
Аналоги изобретения: DE 3709200 A1, 29.09.1988. US 2003/038393 A1, 27.02.2003. US 5366688 A, 22.11.1994. US 5649593 A, 22.07.1997. WO 2005/055321 A2, 16.06.2005. RU 21981 U1, 27.02.2002. 

Имя заявителя: КЕРАМТЕК АГ (DE) 
Изобретатели: КЛЮГЕ Клаус Петер (DE) 
Патентообладатели: КЕРАМТЕК АГ (DE) 
Приоритетные данные: 23.03.2006 DE 102006013873.2
24.11.2006 DE 102006055965.7
08.12.2006 DE 102006058417.1 

Реферат


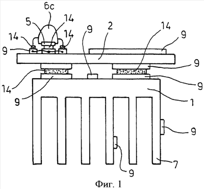
Изобретение относится к каркасам для электрических или электронных деталей или схем. Сущность изобретения: каркас (1, 2) для электрических или электронных деталей (6а, 6b, 6c, 6d) или схем, не обладающий или почти не обладающий электропроводностью, оснащен отводящими или подводящими тепло охлаждающими элементами (7), выполненными заодно с ним, при этом каркас (1, 2) представляет собой плату, каркас (1, 2) и охлаждающий элемент (7) состоят из керамики или композитного материала, а композитный материал содержит материалы матрикса, не обладающие или почти не обладающие теплопроводностью, с теплопроводящими добавками, а на поверхность каркаса (1, 2) путем спекания нанесены участки металлизации. Техническим результатом изобретения является упрощение конструкции с одновременным улучшением теплоотвода. 12 з.п. ф-лы, 20 ил.

Дирекция сайта "Промышленная Сибирь"
Россия, г.Омск, ул.Учебная, 199-Б, к.408А
Сайт открыт 01.11.2000
© 2000-2018 Промышленная Сибирь
Разработка дизайна сайта:
Дизайн-студия "RayStudio"