Промышленная Сибирь Ярмарка Сибири Промышленность СФО Электронные торги НОУ-ХАУ Электронные магазины Карта сайта
 
 

Поиск патентов

Как искать?
Реферат
Название
Публикация
Регистрационный номер
Имя заявителя
Имя изобретателя
Имя патентообладателя

    





Оформить заказ и задать интересующие Вас вопросы Вы можете напрямую c 6-00 до 14-30 по московскому времени кроме сб, вс. whatsapp 8-950-950-9888

На данной странице представлена ознакомительная часть выбранного Вами патента

Для получения более подробной информации о патенте (полное описание, формула изобретения и т.д.) Вам необходимо сделать заказ. Нажмите на «Корзину»


ПОЛУПРОВОДНИКОВАЯ ПОДЛОЖКА, ПОЛУПРОВОДНИКОВОЕ УСТРОЙСТВО И СПОСОБ ПОЛУЧЕНИЯ ПОЛУПРОВОДНИКОВОЙ ПОДЛОЖКИ

Номер публикации патента: 2368030

Вид документа: C2 
Страна публикации: RU 
Рег. номер заявки: 2007126749/28 
  Сделать заказПолучить полное описание патента

Редакция МПК: 
Основные коды МПК: H01L021/205    
Аналоги изобретения: US 6576533 В2, 10.07.2003. RU 2187172 C1, 10.08.2002. EP 0874405 A2, 28.10.1998. US 6656269 В2, 02.12.2003. US 6623560 В2, 23.09.2003. WO 03/025263 A1, 27.03.2003. 

Имя заявителя: ОптоГаН Ой (FI) 
Изобретатели: ОДНОБЛЮДОВ Максим (FI)
БУГРОВ Владислав (FI)
РОМАНОВ Алексей (FI)
ЛАНГ Теему (FI) 
Патентообладатели: ОптоГаН Ой (FI) 
Приоритетные данные: 14.12.2004 FI 20045482 

Реферат


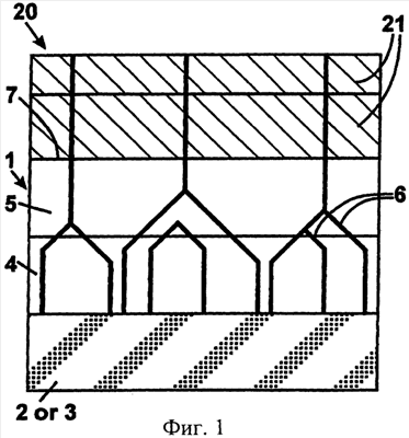
Изобретение относится к полупроводниковым структурам, полученным на полупроводниковой подложке с пониженной плотностью пронизывающих дислокаций. Полупроводниковая подложка (1) по настоящему изобретению выполнена из нитридов металлов III группы, имеющих кристаллическую структуру вюрцита, и выращена в паровой фазе либо на инородной подложке (2) с ориентацией (0001), с параметрами решетки, не соответствующими веществам полупроводниковой подложки, либо на существующем сильно дислоцированном слое (3) с ориентацией (0001) из веществ полупроводниковой подложки, и имеет сильно пониженную плотность дислокаций. Согласно настоящему изобретению для понижения плотности дислокаций используют структуру, которая включает слой (4) перенаправления дислокаций, обеспечивающий намеренный наклон пронизывающих дислокаций (6) в направлении высокоиндексных кристаллографических плоскостей, имеющих кристаллографические индексы, отличные от (0001) и такие как индексы типа , чтобы увеличить вероятность взаимодействия дислокаций; и расположенный над указанным слоем (4) дислокаций слой (5) взаимодействия дислокаций, в котором пронизывающие дислокации (6) объединяются между собой, что приводит к пониженной плотности пронизывающих дислокаций на поверхности полупроводниковой подложки (7). 3 н. и 11 з.п. ф-лы, 10 ил.

Дирекция сайта "Промышленная Сибирь"
Россия, г.Омск, ул.Учебная, 199-Б, к.408А
Сайт открыт 01.11.2000
© 2000-2018 Промышленная Сибирь
Разработка дизайна сайта:
Дизайн-студия "RayStudio"