Промышленная Сибирь Ярмарка Сибири Промышленность СФО Электронные торги НОУ-ХАУ Электронные магазины Карта сайта
 
 

Поиск патентов

Как искать?
Реферат
Название
Публикация
Регистрационный номер
Имя заявителя
Имя изобретателя
Имя патентообладателя

    





Оформить заказ и задать интересующие Вас вопросы Вы можете напрямую c 6-00 до 14-30 по московскому времени кроме сб, вс. whatsapp 8-950-950-9888

На данной странице представлена ознакомительная часть выбранного Вами патента

Для получения более подробной информации о патенте (полное описание, формула изобретения и т.д.) Вам необходимо сделать заказ. Нажмите на «Корзину»


РЕЛЯТИВИСТСКИЙ МАГНЕТРОН С ВОЛНОВОДНЫМИ КАНАЛАМИ СВЯЗИ РЕЗОНАТОРОВ

Номер публикации патента: 2388101

Вид документа: C1 
Страна публикации: RU 
Рег. номер заявки: 2008150293/09 
  Сделать заказПолучить полное описание патента

Редакция МПК: 
Основные коды МПК: H01J025/02    
Аналоги изобретения: RU 2228560 C1, 10.05.2004. RU 2337426 C1, 27.10.2008. GB 2395837 A, 02.06.2004. US 4855645 A, 08.08.1989. EP 1870923 A1, 26.12.2007. 

Имя заявителя: Государственное образовательное учреждение высшего профессионального образования "Томский политехнический Университет" (RU) 
Изобретатели: Винтизенко Игорь Игоревич (RU) 
Патентообладатели: Государственное образовательное учреждение высшего профессионального образования "Томский политехнический Университет" (RU) 

Реферат


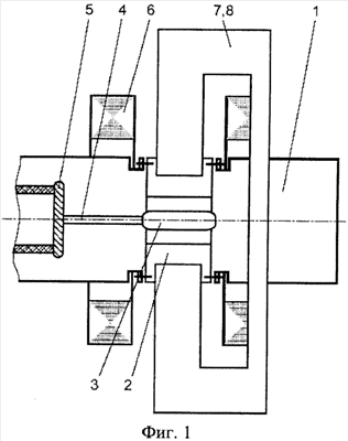
Изобретение относится к области релятивистской высокочастотной электроники и может быть применено для генерации мощного СВЧ излучения. Технический результат заключается в повышении напряженности высокочастотного поля на оси излучающей системы, представляющей собой многомерную антенную решетку, составленную из отдельных волноводных каналов с излучающими щелями. Релятивистский магнетрон содержит многорезонаторный анодный блок (2) с расположенными на оси взрывоэмиссионным катодом (3) и цилиндрической трубой дрейфа (1), внешнюю магнитную систему (6) из двух катушек, образующих пару Гельмгольца. Резонаторы, расположенные через один, связаны волноводными каналами связи (7, 8) числом s=1,2,N/2 и длиной m, где N - число резонаторов анодного блока, m - положительное целое число, - длина волны колебаний в волноводе. В каналах связи (7, 8) выполнены излучающие щели (9). Центральная излучающая щель расположена на оси электрической симметрии канала связи. Излучающие щели (9) выполнены в широкой стенке канала связи (7, 8) таким образом, что боковые излучающие щели расположены относительно центральной на расстоянии (2n+1)/4 поочередно по разные стороны от средней линии стенки канала, где n - целое число, или таким образом, что боковые излучающие щели расположены относительно центральной на расстоянии n по одну сторону от средней линии стенки канала, или таким образом, что боковые излучающие щели расположены относительно центральной на расстоянии n на средней линии стенки канала. 3 з.п. ф-лы, 2 ил.

Дирекция сайта "Промышленная Сибирь"
Россия, г.Омск, ул.Учебная, 199-Б, к.408А
Сайт открыт 01.11.2000
© 2000-2018 Промышленная Сибирь
Разработка дизайна сайта:
Дизайн-студия "RayStudio"