Промышленная Сибирь Ярмарка Сибири Промышленность СФО Электронные торги НОУ-ХАУ Электронные магазины Карта сайта
 
 

Поиск патентов

Как искать?
Реферат
Название
Публикация
Регистрационный номер
Имя заявителя
Имя изобретателя
Имя патентообладателя

    





Оформить заказ и задать интересующие Вас вопросы Вы можете напрямую c 6-00 до 14-30 по московскому времени кроме сб, вс. whatsapp 8-950-950-9888

На данной странице представлена ознакомительная часть выбранного Вами патента

Для получения более подробной информации о патенте (полное описание, формула изобретения и т.д.) Вам необходимо сделать заказ. Нажмите на «Корзину»


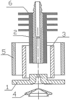
ЭЛЕКТРОННО - ИОННЫЙ ИСТОЧНИК

Номер публикации патента: 2378732

Вид документа: C1 
Страна публикации: RU 
Рег. номер заявки: 2008119847/28 
  Сделать заказПолучить полное описание патента

Редакция МПК: 
Основные коды МПК: H01J003/04    
Аналоги изобретения: RU 2209483 С2, 27.07.2003. RU 2163042 С2, 10.02.2001. SU 1364123 A1, 30.06.1993. EP 0264709 A2, 27.04.1988. JP 63007423 В, 13.05.1982. 

Имя заявителя: Учреждение Российской академии наук Институт физики прочности и материаловедения Сибирского отделения РАН (ИФПМ СО РАН) (RU) 
Изобретатели: Дураков Василий Григорьевич (RU)
Дампилон Баир Вячеславович (RU) 
Патентообладатели: Учреждение Российской академии наук Институт физики прочности и материаловедения Сибирского отделения РАН (ИФПМ СО РАН) (RU) 

Реферат


Изобретение относится к области получения электронных и ионных пучков и может быть использовано в ускорительной технике. Электронно-ионный источник содержит эмиттерный катод с эмиссионным отверстием и расположенный против него второй катод, анод, систему вытягивания и систему электропитания. Отличительной особенностью нового источника является то, что полый катод является биметаллическим и состоит из двух частей: внутренней ферромагнитной части и наружной высокотеплопроводящей части, выполненной по всей окружности катода в форме жестких ребер. Технический результат: интенсивный теплоотвод от биметаллического полого катода. 2 з.п. ф-лы, 1 ил.

Дирекция сайта "Промышленная Сибирь"
Россия, г.Омск, ул.Учебная, 199-Б, к.408А
Сайт открыт 01.11.2000
© 2000-2018 Промышленная Сибирь
Разработка дизайна сайта:
Дизайн-студия "RayStudio"