Промышленная Сибирь Ярмарка Сибири Промышленность СФО Электронные торги НОУ-ХАУ Электронные магазины Карта сайта
 
 

Поиск патентов

Как искать?
Реферат
Название
Публикация
Регистрационный номер
Имя заявителя
Имя изобретателя
Имя патентообладателя

    





Оформить заказ и задать интересующие Вас вопросы Вы можете напрямую c 6-00 до 14-30 по московскому времени кроме сб, вс. whatsapp 8-950-950-9888

На данной странице представлена ознакомительная часть выбранного Вами патента

Для получения более подробной информации о патенте (полное описание, формула изобретения и т.д.) Вам необходимо сделать заказ. Нажмите на «Корзину»


ПРИСПОСОБЛЕНИЕ В УПРАВЛЯЮЩЕМ УСТРОЙСТВЕ ПРОИЗВОДСТВЕННОЙ МАШИНЫ

Номер публикации патента: 2373595

Вид документа: C1 
Страна публикации: RU 
Рег. номер заявки: 2008136868/09 
  Сделать заказПолучить полное описание патента

Редакция МПК: 
Основные коды МПК: H01H001/16   H01H009/04   G06F003/033    
Аналоги изобретения: SU 1272365 А1, 23.11.1986. US 20020109674 А1, 15.08.2002. US 20060007156 A1, 12.01.2006. JP 03156520 A, 04.07.1991. JP 09305307 A, 28.11.1997. WO 9953800 A1, 28.10.1999. 

Имя заявителя: САНДВИК МАЙНИНГ ЭНД КОНСТРАКШН ОЙ (FI) 
Изобретатели: КАРВОНЕН Тони (FI) 
Патентообладатели: САНДВИК МАЙНИНГ ЭНД КОНСТРАКШН ОЙ (FI) 
Приоритетные данные: 14.02.2006 FI 20065110 

Реферат


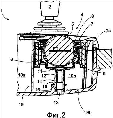
Изобретение относится к способу удаления загрязнений из управляющего устройства производственной машины и к управляющему устройству. Управляющее устройство (1) содержит трекболл (4), с которого можно смывать загрязнения. Смывную среду и загрязнения, собранные под трекболом, можно выводить по выпускному каналу наружу из управляющего устройства. Предложенным способом предотвращают попадание загрязнений в пространство (10а) для компонентов, содержащее электронные средства. Выпускной канал может содержать собирающую воронку (11) для сбора загрязнений и направления их посредством шланга (14) к соединительной части (15), содержащей коническую сопрягаемую поверхность (16). Изобретение позволяет устранить нарушения в работе за счет исключения попадания загрязнений внутрь корпуса устройства. 2 н. и 11 з.п. ф-лы, 7 ил.

Дирекция сайта "Промышленная Сибирь"
Россия, г.Омск, ул.Учебная, 199-Б, к.408А
Сайт открыт 01.11.2000
© 2000-2018 Промышленная Сибирь
Разработка дизайна сайта:
Дизайн-студия "RayStudio"