Промышленная Сибирь Ярмарка Сибири Промышленность СФО Электронные торги НОУ-ХАУ Электронные магазины Карта сайта
 
 

Поиск патентов

Как искать?
Реферат
Название
Публикация
Регистрационный номер
Имя заявителя
Имя изобретателя
Имя патентообладателя

    





Оформить заказ и задать интересующие Вас вопросы Вы можете напрямую c 6-00 до 14-30 по московскому времени кроме сб, вс. whatsapp 8-950-950-9888

На данной странице представлена ознакомительная часть выбранного Вами патента

Для получения более подробной информации о патенте (полное описание, формула изобретения и т.д.) Вам необходимо сделать заказ. Нажмите на «Корзину»


ГИДРАВЛИЧЕСКИЙ КЛАПАН С ЭЛЕКТРИЧЕСКИМ УПРАВЛЕНИЕМ

Номер публикации патента: 2444666

Вид документа: C2 
Страна публикации: RU 
Рег. номер заявки: 2008151073/06 
  Сделать заказПолучить полное описание патента

Редакция МПК: 
Основные коды МПК: F16K031/02   H01F007/06   H01F007/16    
Аналоги изобретения: EP 0349723 A1, 10.01.1990. SU 143287 A, 09.02.1962. SU 1576764 A1, 07.07.1990. US 4310143 A, 12.01.1982. GB 2039150 A, 30.07.1980. DE 1550378 B1, 11.02.1971. GB 2240158 A, 24.07.1991. 

Имя заявителя: ЭЙКЕР САБСИ ЛИМИТЕД (GB) 
Изобретатели: ТИББИТТС Мэтью Генри (GB)
ГЛЕДХИЛЛ Эндрю Денис (GB)
ИННЕС Дейвид Стивен (GB) 
Патентообладатели: ЭЙКЕР САБСИ ЛИМИТЕД (GB) 
Приоритетные данные: 01.06.2006 GB 0610813.8 

Реферат


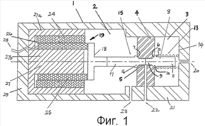
Изобретение относится к гидравлическим клапанам и предназначено для использования в системах для извлечения жидких углеводородов. Клапан содержит клапанную сборку. Последняя включает в себя общий перепускной канал 5, впускной канал 20, выпускной канал 22 и соединенный с перепускным каналом возвратный канал 23, и подвижное в осевом направлении вентильное устройство 8, 15. В первом положении устройство 8, 15 обеспечивает возможность перетекания текучей среды между каналом 22 и каналом 23, при этом канал 20 закрыт. Во втором положении устройство 8, 15 смещено в осевом направлении относительно первого положения и обеспечивает возможность перетекания текучей среды между каналом 20 и каналом 22, тогда как канал 23 закрыт. Пружина 13 стремится привести устройство 8, 15 в его первое положение. Электрический приводной механизм 19 соединен с вентильным устройством и содержит постоянный магнит 24 и электрическую катушку 25 с магнитным сердечником. Одно из устройств - либо магнит, либо катушка - образует статор. Другое устройство образует подвижную часть. Подвижная часть соединена с вентильным устройством 8,15 и перемещает устройство 8,15 из первого положения во второе положение. Приводной механизм работает от электросети. Изобретение направлено на снижение электропотребления клапана. 8 з.п. ф-лы, 3 ил.

Дирекция сайта "Промышленная Сибирь"
Россия, г.Омск, ул.Учебная, 199-Б, к.408А
Сайт открыт 01.11.2000
© 2000-2018 Промышленная Сибирь
Разработка дизайна сайта:
Дизайн-студия "RayStudio"