Промышленная Сибирь Ярмарка Сибири Промышленность СФО Электронные торги НОУ-ХАУ Электронные магазины Карта сайта
 
 

Поиск патентов

Как искать?
Реферат
Название
Публикация
Регистрационный номер
Имя заявителя
Имя изобретателя
Имя патентообладателя

    





Оформить заказ и задать интересующие Вас вопросы Вы можете напрямую c 6-00 до 14-30 по московскому времени кроме сб, вс. whatsapp 8-950-950-9888

На данной странице представлена ознакомительная часть выбранного Вами патента

Для получения более подробной информации о патенте (полное описание, формула изобретения и т.д.) Вам необходимо сделать заказ. Нажмите на «Корзину»


СПОСОБ ИЗГОТОВЛЕНИЯ ПРЕЦИЗИОННЫХ ЧИП - РЕЗИСТОРОВ ПО ГИБРИДНОЙ ТЕХНОЛОГИИ

Номер публикации патента: 2402088

Вид документа: C1 
Страна публикации: RU 
Рег. номер заявки: 2009141553/07 
  Сделать заказПолучить полное описание патента

Редакция МПК: 
Основные коды МПК: H01C017/06   H01C017/28    
Аналоги изобретения: RU 2312418 C1, 10.12.2007. RU 2123735 C1, 20.12.1998. RU 2086027 C1, 27.07.1997. SU 315381 A1, 21.09.1971. US 2009153287 A, 18.06.2009. US 2008272879 A1, 06.11.2008. JP 3869273 A, 25.07.2003. DE 3023133 A1, 07.01.1982. 

Имя заявителя: Закрытое акционерное общество "Каскад-Телеком" (RU) 
Изобретатели: Волкодаев Борис Васильевич (RU)
Шахов Николай Васильевич (RU) 
Патентообладатели: Закрытое акционерное общество "Каскад-Телеком" (RU) 

Реферат


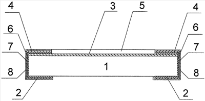
Изобретение относится к электронной технике, а именно к производству постоянных резисторов, и может быть использовано в электронной, радиотехнической и других смежных отраслях промышленности при изготовлении прецизионных чип-резисторов. Целью изобретения является повышение эксплуатационной надежности прецизионных чип-резисторов. Способ содержит следующие технологические операции: 1) нанесение на шлифованную (тыльную) поверхность изоляционной подложки методом трафаретной печати слоя серебряной или серебряно-палладиевой пасты с последующим ее вжиганием, образуя тем самым электродные контакты на тыльной стороне подложки; 2) напыление на полированную (лицевую) сторону изоляционной подложки методом вакуумной (тонкопленочной) технологии резистивного слоя; 3) формирование методом фотолитографии и ионного травления топологии резистивного слоя на подложке; 4) нанесение методом трафаретной печати на лицевой стороне подложки поверх резистивного слоя низкотемпературной серебряной пасты с последующим ее вжиганием, образуя тем самым электродные контакты на лицевой стороне; 5) подгонку методом лазерной подгонки величины сопротивления резисторов в номинал; 6) нанесение методом трафаретной печати на резистивный слой с последующим вжиганием слоя низкотемпературной защитной пасты, образуя защитный слой; 7) скрайбирование и ломку пластины изоляционной подложки на полосы; 8) напыление методом вакуумной (тонкопленочной) технологии из сплава никеля с хромом на торцы, соединяя тем самым между собой электродные контакты лицевой и тыльной сторон подложки; 9) ломку рядов пластины на чипы; 10) нанесение гальваническим методом поверх электродных контактов - торцевого, на лицевой и на тыльной сторонах - слоя никеля; 11) нанесение поверх слоя никеля гальваническим методом слоя припоя в виде сплава олова со свинцом. 1 ил.

Дирекция сайта "Промышленная Сибирь"
Россия, г.Омск, ул.Учебная, 199-Б, к.408А
Сайт открыт 01.11.2000
© 2000-2018 Промышленная Сибирь
Разработка дизайна сайта:
Дизайн-студия "RayStudio"