Промышленная Сибирь Ярмарка Сибири Промышленность СФО Электронные торги НОУ-ХАУ Электронные магазины Карта сайта
 
 

Поиск патентов

Как искать?
Реферат
Название
Публикация
Регистрационный номер
Имя заявителя
Имя изобретателя
Имя патентообладателя

    





Оформить заказ и задать интересующие Вас вопросы Вы можете напрямую c 6-00 до 14-30 по московскому времени кроме сб, вс. whatsapp 8-950-950-9888

На данной странице представлена ознакомительная часть выбранного Вами патента

Для получения более подробной информации о патенте (полное описание, формула изобретения и т.д.) Вам необходимо сделать заказ. Нажмите на «Корзину»


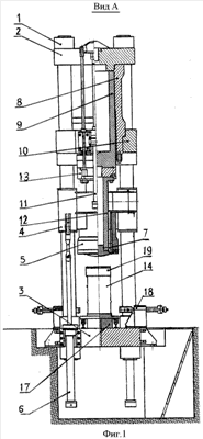
ГИДРАВЛИЧЕСКИЙ ПРЕСС ДЛЯ КОМПАКТИРОВАНИЯ ТВЕРДЫХ ОТХОДОВ В БОЧКЕ И РАСПРЕССОВКИ ЗАПОЛНЕННОЙ БОЧКИ С КРЫШКОЙ В БРИКЕТ

Номер публикации патента: 2453437

Вид документа: C2 
Страна публикации: RU 
Рег. номер заявки: 2010115940/02 
  Сделать заказПолучить полное описание патента

Редакция МПК: 
Основные коды МПК: B30B011/00   B30B001/32   G21F009/36    
Аналоги изобретения: RU 2111567 C1, 20.05.1998. RU 2012081 C1, 30.04.1994. RU 2268145 C1, 20.01.2006. US 4610199 A, 09.09.1986. EP 0125552 B1, 04.02.1987. 

Имя заявителя: Открытое акционерное общество "Свердловский научно-исследовательский институт химического машиностроения" (ОАО "СвердНИИхиммаш") (RU) 
Изобретатели: Вовкотруб Юрий Гаврилович (RU)
Гурвич Игорь Борисович (RU)
Каримов Рауиль Сайфуллович (RU)
Пилип Юрий Михайлович (RU)
Шевелев Валентин Васильевич (RU)
Юровских Сергей Александрович (RU) 
Патентообладатели: Открытое акционерное общество "Свердловский научно-исследовательский институт химического машиностроения" (ОАО "СвердНИИхиммаш") (RU) 

Реферат


Изобретение относится к прессам для компактирования и может быть использовано для упаковки твердых отходов, в частности радиоактивных, в бочки перед их утилизацией или захоронением. Пресс содержит раму из стянутых колоннами верхней и нижней поперечин. На колоннах с возможностью перемещения смонтирован ползун с гильзой. На верхней поперечине установлен главный силовой цилиндр. В отверстии ползуна и гильзы установлен пресс-штемпель. Над ползуном с возможностью перемещения по колоннам установлена траверса. На траверсе сверху закреплен плунжер главного силового цилиндра, а снизу - пресс-штемпель. Цилиндры его привода закреплены на нижнем фланце главного силового цилиндра. Штоки цилиндров скреплены с траверсой. На нижней поперечине размещена опорная плита. Для установки на крышку бочки при распрессовке предназначена пресс-шайба, диаметр которой превышает диаметр бочки. Внутренний диаметр гильзы превышает диаметр пресс-шайбы. В результате обеспечивается максимальное уплотнение отходов непосредственно в бочке и распрессовка заполненной бочки в компактный брикет. 9 з.п. ф-лы, 3 ил.

Дирекция сайта "Промышленная Сибирь"
Россия, г.Омск, ул.Учебная, 199-Б, к.408А
Сайт открыт 01.11.2000
© 2000-2018 Промышленная Сибирь
Разработка дизайна сайта:
Дизайн-студия "RayStudio"